授权公布号:CN215323569U
一种具有除静电功能的三维透明膜包装机
有效
申请
2021-07-13
申请公布
1970-01-01
授权
2021-12-28
预估到期
2031-07-13
| 申请号 | CN202121594490.4 |
| 申请日 | 2021-07-13 |
| 授权公布号 | CN215323569U |
| 授权公告日 | 2021-12-28 |
| 分类号 | B65B41/16;B65B11/00;H05F3/00 |
| 分类 | 输送;包装;贮存;搬运薄的或细丝状材料; |
| 申请人名称 | 上海章华保健化妆品有限公司 |
| 申请人地址 | 上海市青浦区青浦工业园区新业路638号 |
专利法律状态
2021-12-28
授权
状态信息
授权
摘要
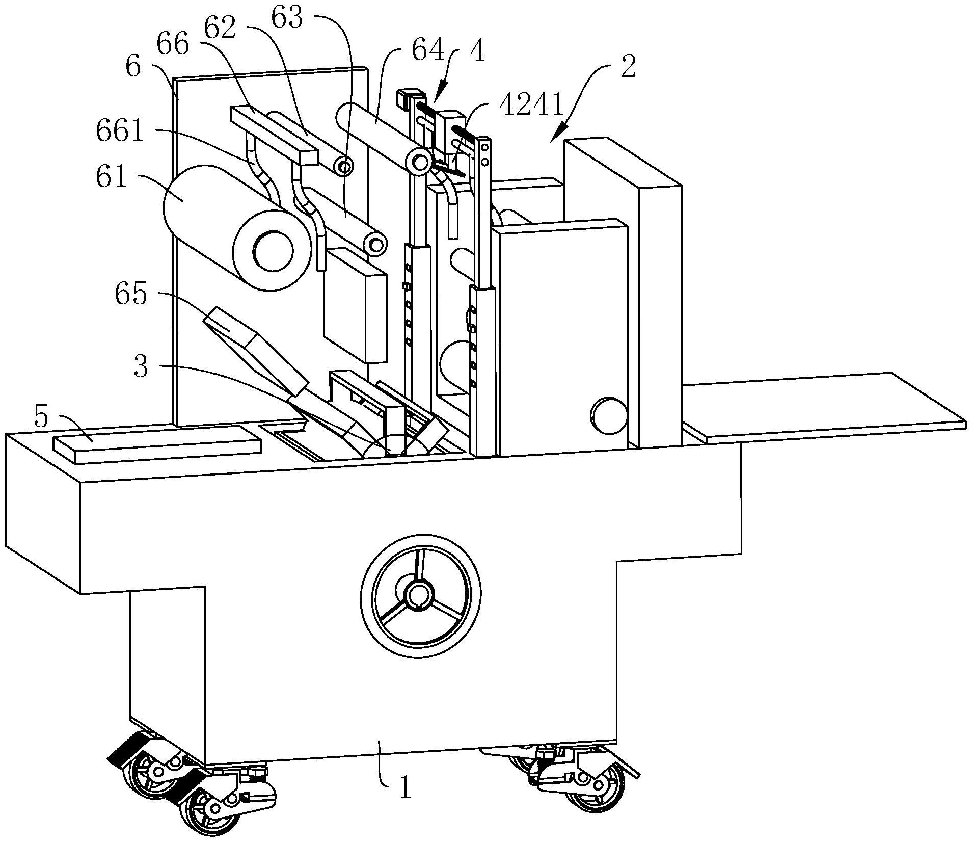
本申请涉及一种具有除静电功能的三维透明膜包装机,涉及包装机技术领域,其包括机体,所述机体上安装有传送带,所述机体由进料端向出料端方向依次安装有封膜箱、转塔、长封器,所述机体固设有安装板,所述安装板由出料端向进料端方向依次转动连接有放卷轴、第一导向辊、第二导向辊、第三导向辊,所述安装板上于靠近转塔的一端安装有侧封边器,所述机体上于封膜箱和转塔之间安装有除静电机构,所述除静电机构包括升降组件、螺杆、滑块、除静电板、限位杆、电机,所述限位杆穿过滑块且与其滑移连接,所述电机带动螺杆转动。本申请具有减少透明膜产生静电且提高工作效率的效果。


