授权公布号:CN219052202U
一种家用柜门生产除尘装置
有效
申请
2023-01-08
申请公布
1970-01-01
授权
2023-05-23
预估到期
2033-01-08
| 申请号 | CN202320047947.2 |
| 申请日 | 2023-01-08 |
| 授权公布号 | CN219052202U |
| 授权公告日 | 2023-05-23 |
| 分类号 | B08B1/04;B08B7/00;B08B13/00 |
| 分类 | 清洁; |
| 申请人名称 | 江西月兔家居实业有限公司 |
| 申请人地址 | 江西省上饶市广丰区经济开发区工业三路 |
专利法律状态
2023-05-23
授权
状态信息
授权
摘要
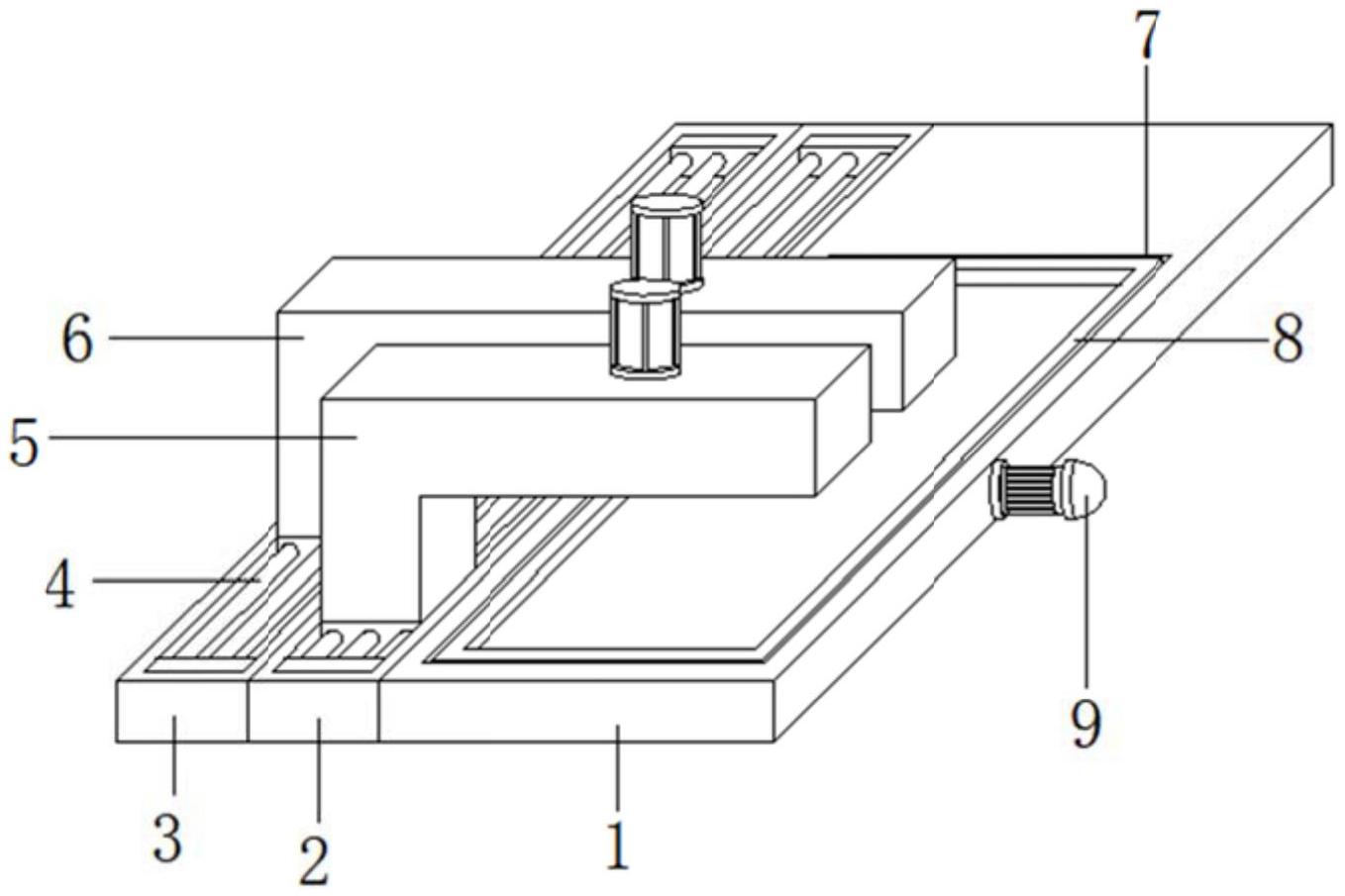
本实用新型公开了一种家用柜门生产除尘装置,包括操作板、第一驱动座、第二驱动座,所述操作板左侧与第一驱动座固定连接,所述第一驱动座左侧与第二驱动座固定连接,所述第一驱动座顶部与第二驱动座顶部均嵌设固定有无杆气缸,所述第一驱动座通过无杆气缸的活动端固定连接有第一L型清洁座,能够通过设置的第一伸缩气缸对毛刷盘的高度调节,可以适用于不同厚度的门板进行清扫灰尘,有效的避免柜门上附着的大块木屑以及废屑颗粒被清理到地面上影响生产车间的环境,不需要工作人员手动搬运柜门进行反面,可以直接对柜门下表面进行除尘操作,省时省力,工作效率大大提高。


