授权公布号:CN106821493B
微针治疗头和微针治疗器
有效
申请
2017-03-24
申请公布
2017-06-13
授权
2024-02-27
预估到期
2037-03-24
| 申请号 | CN201710185945.9 |
| 申请日 | 2017-03-24 |
| 申请公布号 | CN106821493A |
| 申请公布日 | 2017-06-13 |
| 授权公布号 | CN106821493B |
| 授权公告日 | 2024-02-27 |
| 分类号 | A61B18/14 |
| 分类 | 医学或兽医学;卫生学; |
| 申请人名称 | 深圳半岛医疗集团股份有限公司 |
| 申请人地址 | 广东省深圳市宝安区新安街道68区留仙三路长丰工业园F2栋A座3楼 |
专利法律状态
2024-02-27
授权
状态信息
授权
2023-09-29
著录事项变更
状态信息
著录事项变更;IPC(主分类):A61B18/14;变更事项:申请人;变更前:深圳半岛医疗有限公司;变更后:深圳半岛医疗集团股份有限公司;变更事项:地址;变更前:518000 广东省深圳市宝安区新安街道68区留仙三路长丰工业园F2栋A座3楼;变更后:518000 广东省深圳市宝安区新安街道68区留仙三路长丰工业园F2栋A座3楼
2017-07-07
实质审查的生效
状态信息
实质审查的生效;IPC(主分类):A61B18/14;申请日:20170324
2017-06-13
公布
状态信息
公布
摘要
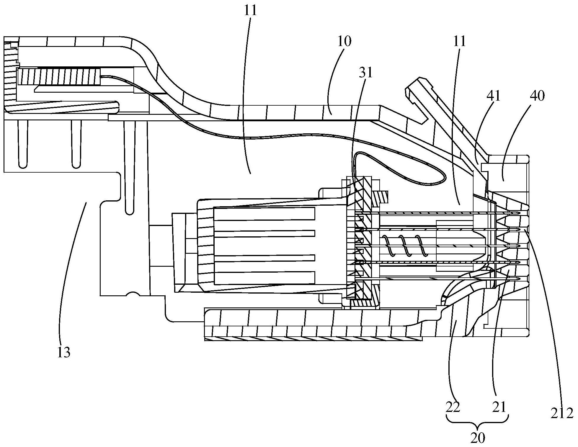
本发明公开一种微针治疗头和微针治疗器,其中,微针治疗头包括:壳体,具有容置腔、及与容置腔连通的治疗口;微针装置,设置于容置腔内,包括微针底座和至少一根微针,微针固定于微针底座,且微针朝向治疗口延伸;以及冷端传导件,固定于容置腔,包括显露于治疗口的接触端和与接触端相导冷连接的热传导端,热传导端用以供制冷输出装置的冷输出端相导冷连接。本发明技术方案通过使冷端传导件与治疗部位接触后,可以对治疗部位进行了冷处理,以减少微针治疗时的副作用。


