授权公布号:CN114069694B
一种降低多相变频/定频并联多模块单元的回路电感的方法
有效
申请
2021-11-02
申请公布
2022-02-18
授权
2024-03-22
预估到期
2041-11-02
| 申请号 | CN202111287919.X |
| 申请日 | 2021-11-02 |
| 申请公布号 | CN114069694A |
| 申请公布日 | 2022-02-18 |
| 授权公布号 | CN114069694B |
| 授权公告日 | 2024-03-22 |
| 分类号 | H02J3/38;H02J3/24;H02J3/36;H02J3/01 |
| 分类 | 发电、变电或配电; |
| 申请人名称 | 北京动力源科技股份有限公司 |
| 申请人地址 | 北京市丰台区科技园区星火路8号 |
专利法律状态
2024-03-22
授权
状态信息
授权
2022-03-08
实质审查的生效
状态信息
实质审查的生效;IPC(主分类):H02J3/38;申请日:20211102
2022-02-18
公布
状态信息
公布
摘要
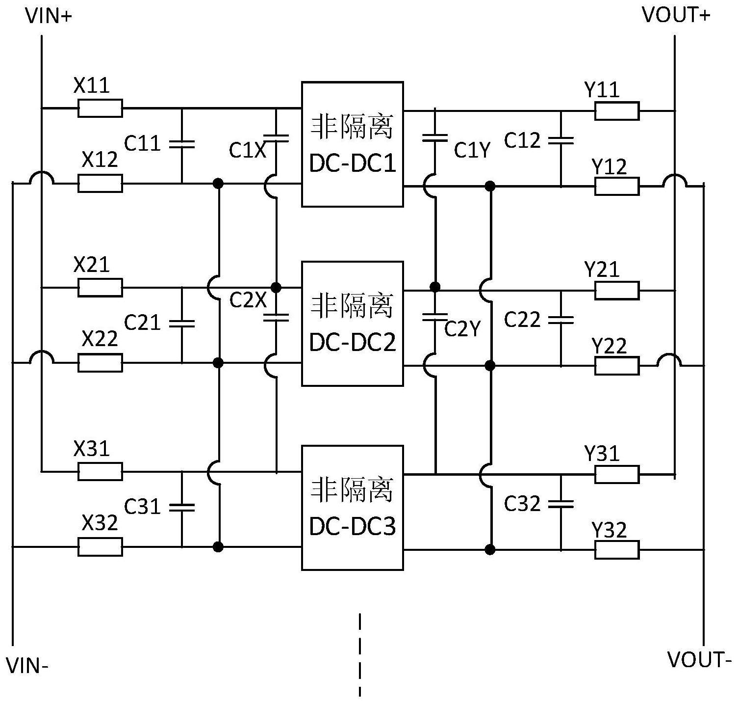
本发明公开了一种用于降低多相变频并联多模块单元的回路电感的方法,多相变频并联多模块单元包括至少二个并联连接的电源模块单元,其特征在于:在相邻两个电源模块的输入端正极之间或/和输出端正极之间,设置级联交流旁路母线,并将相应的输入端负极或/和输出端负极连接,用于降低级联电源模块单元之间的回路电感。级联交流旁路母线采用直接连接的母线或串联有旁路电容的母线,旁路电容并联连接在相邻两个直流电源模块的输入端正极之间或/和输出端正极之间。本申请通过在多并联电源模块的输入端正极之间或输出端正极之间设置级联交流旁路母线,减少多并联电源模块整体的回路电感,降低了电流纹波。


