授权公布号:CN215884163U
一种袋装鲜奶灌装机
有效
申请
2021-07-22
申请公布
1970-01-01
授权
2022-02-22
预估到期
2031-07-22
| 申请号 | CN202121684673.5 |
| 申请日 | 2021-07-22 |
| 授权公布号 | CN215884163U |
| 授权公告日 | 2022-02-22 |
| 分类号 | B65B3/04;B65B57/04;B65B61/00 |
| 分类 | 输送;包装;贮存;搬运薄的或细丝状材料; |
| 申请人名称 | 西安东方乳业有限公司 |
| 申请人地址 | 陕西省西安市灞桥区新合街1号 |
专利法律状态
2022-02-22
授权
状态信息
授权
摘要
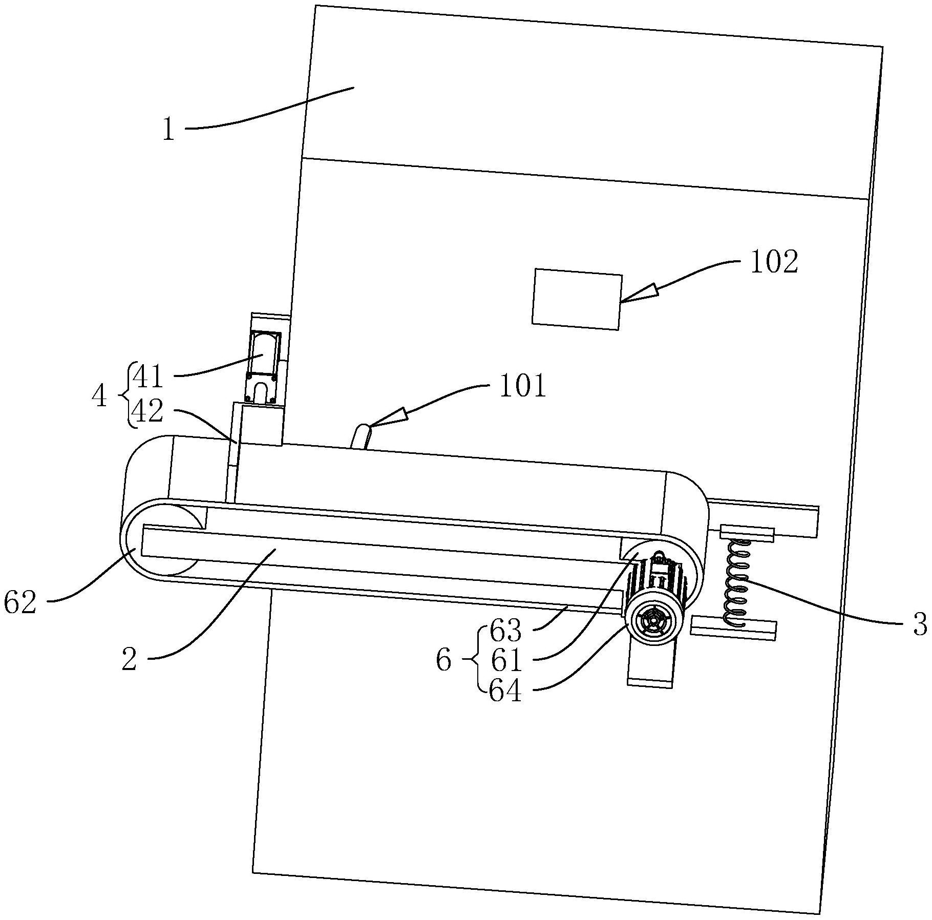
本申请公开了一种袋装鲜奶灌装机,涉及鲜奶灌装打包设备的领域。其包括灌装机本体和出料板,所述出料板和灌装机本体铰接,还包括检测弹簧和用于推送灌装量不足的包装袋的推料组件,所述检测弹簧一端和出料板固定连接,所述检测弹簧另一端和灌装机本体固定连接,所述检测弹簧和推料组件分别设置在出料板铰接轴的两侧,当推送灌装量不足的包装袋放置在出料板上时,所述出料板和推料组件的活塞杆贴合。本申请能够提高筛出灌注鲜奶量不足的包装袋的便利性。


