授权公布号:CN215540493U
一种鲜奶加工用混料装置
有效
申请
2021-08-27
申请公布
1970-01-01
授权
2022-01-18
预估到期
2031-08-27
| 申请号 | CN202122053682.0 |
| 申请日 | 2021-08-27 |
| 授权公布号 | CN215540493U |
| 授权公告日 | 2022-01-18 |
| 分类号 | B01F35/00;G01N1/14 |
| 分类 | 一般的物理或化学的方法或装置; |
| 申请人名称 | 西安东方乳业有限公司 |
| 申请人地址 | 陕西省西安市灞桥区新合街1号 |
专利法律状态
2022-01-18
授权
状态信息
授权
摘要
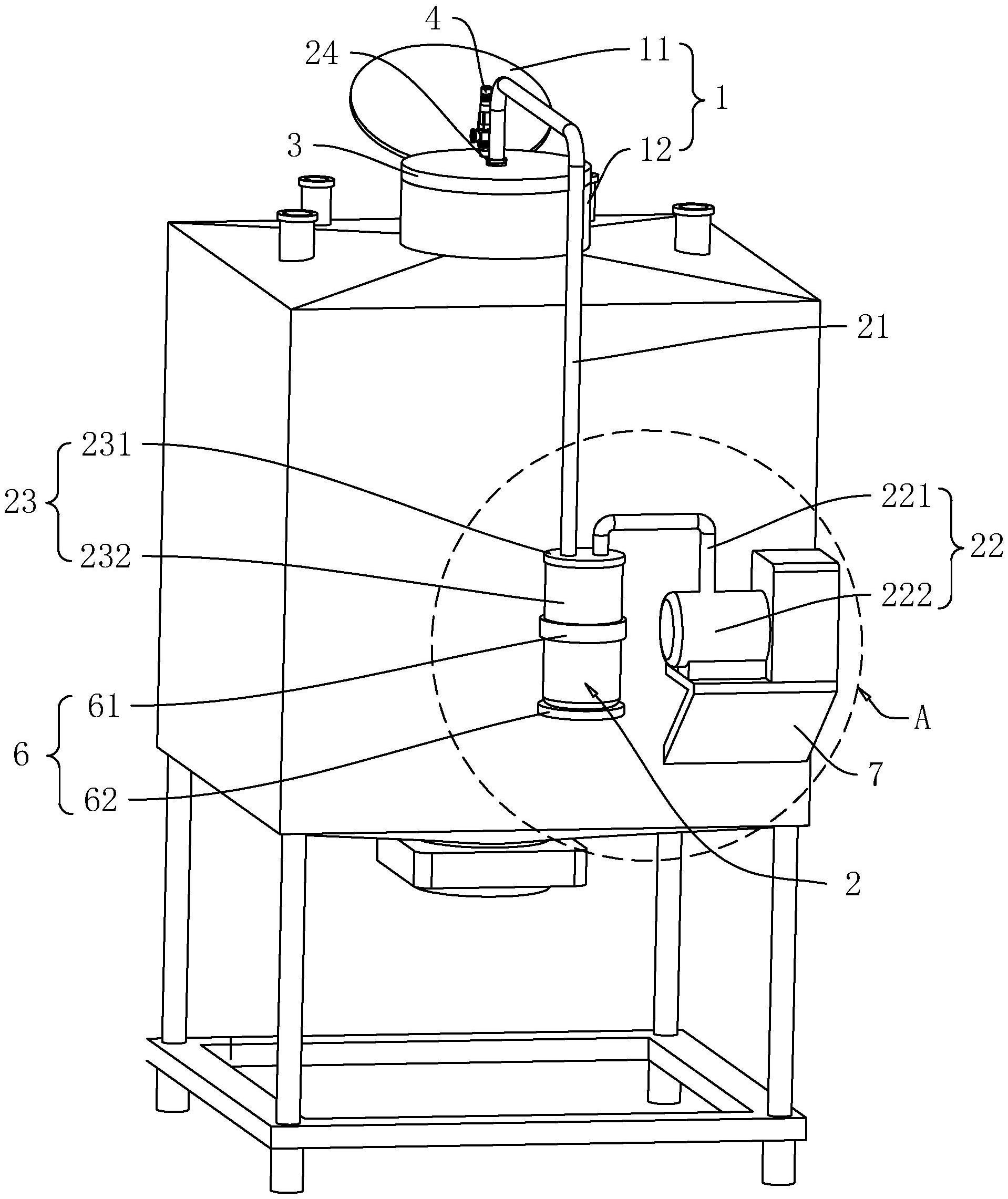
本申请涉及一种鲜奶加工用混料装置,属于奶制品加工的领域,其包括混料缸,混料缸顶端设有带密封盖的投料口;混料装置还包括取样机构,取样机构包括吸液管、抽气件和储样件;储样件包括开口朝上的储液瓶和与储液瓶可拆卸连接的瓶盖,吸液管一端穿过瓶盖与储液瓶贯通连接,另一端自投料口伸入混料缸并于与混料缸贯通连接;抽气件与储液瓶贯通连接用于对储液瓶抽真空。本申请具有提高取样便捷性的效果。


