授权公布号:CN218393206U
一种剪切乳化机
有效
申请
2022-09-15
申请公布
1970-01-01
授权
2023-01-31
预估到期
2032-09-15
| 申请号 | CN202222449874.8 |
| 申请日 | 2022-09-15 |
| 授权公布号 | CN218393206U |
| 授权公告日 | 2023-01-31 |
| 分类号 | B01F27/80;B01F35/12;B01F23/41;B01F23/43 |
| 分类 | 一般的物理或化学的方法或装置; |
| 申请人名称 | 西安东方乳业有限公司 |
| 申请人地址 | 陕西省西安市灞桥区新合街1号 |
专利法律状态
2023-01-31
授权
状态信息
授权
摘要
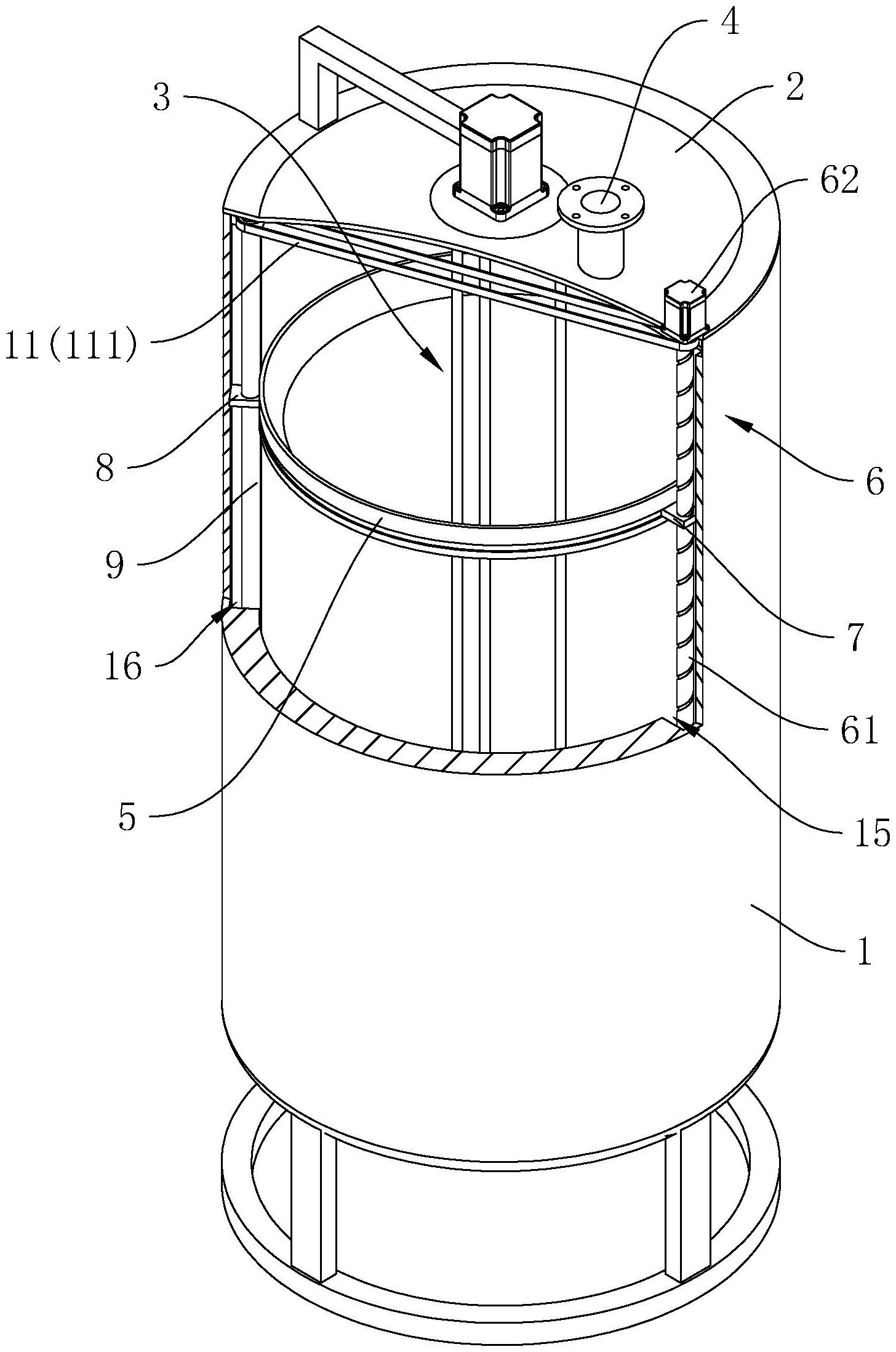
本申请涉及乳化机技术领域,尤其是涉及一种剪切乳化机,包括筒体、盖子以及剪切装置,盖子安装在筒体上,剪切装置安装在盖子上,盖子上开设有上料口,筒体底部开设有下料口;筒体内设有用于清洁筒体内壁的刮环,筒体内还设有用于驱使刮环往复升降的升降装置。本申请提供的一种剪切乳化机通过升降装置驱使刮环,则刮环将粘附在筒体侧壁上的液体刮下,液体从下料口处流出,减少了资源的浪费。


