授权公布号:CN211969930U
一种洗包机
有效
申请
2020-02-10
申请公布
1970-01-01
授权
2020-11-20
预估到期
2030-02-10
| 申请号 | CN202020159595.6 |
| 申请日 | 2020-02-10 |
| 授权公布号 | CN211969930U |
| 授权公告日 | 2020-11-20 |
| 分类号 | B65B55/24;B65B55/02 |
| 分类 | 输送;包装;贮存;搬运薄的或细丝状材料; |
| 申请人名称 | 西安东方乳业有限公司 |
| 申请人地址 | 陕西省西安市灞桥区新合街1号 |
专利法律状态
2020-11-20
授权
状态信息
授权
摘要
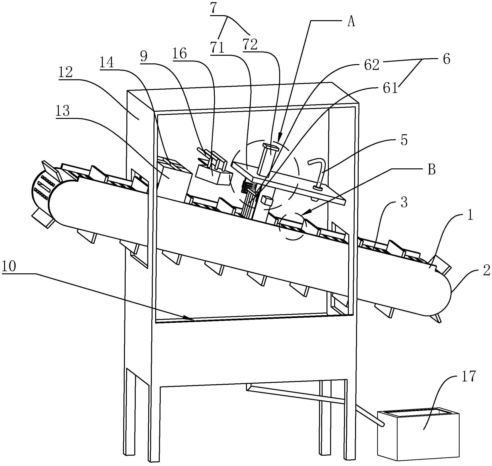
本实用新型公开了一种洗包机,涉及食品灌装机械辅助设备技术领域。其包括机架、设于机架上的输送线体,输送线体的带面上沿输送方向间隔设置有多个柔性放置板,放置板上开设有容置槽,输送线体上于任一容置槽上方设置有喷水管,喷水管接近输送线体输送末端的一侧设置有除水装置,除水装置包括柔性吸水棉条、与吸水棉条固定连接的驱动板,驱动板可沿竖直方向运动,输送线体上方设置有带动驱动板沿竖直方向运动的驱动组件。灌装后的包装袋沿输送线体输送时,喷水管可朝向袋口喷水,将袋口的食品残留液冲刷掉,随后除水装置除去包装袋上留有的水分。本实用新型具有可在食品包装袋灌装后,对袋口清洗,以及清洗后水分去除的效果。


