授权公布号:CN219537748U
一种多接口型材、桌面板支撑组件、挂持组件
有效
申请
2022-12-27
申请公布
1970-01-01
授权
2023-08-18
预估到期
2032-12-27
| 申请号 | CN202223505799.9 |
| 申请日 | 2022-12-27 |
| 授权公布号 | CN219537748U |
| 授权公告日 | 2023-08-18 |
| 分类号 | A47B13/00;A47B13/16;A47B13/08;A47B21/00;A47G5/00;A47B95/00;A47B97/00 |
| 分类 | 家具;家庭用的物品或设备;咖啡磨;香料磨;一般吸尘器; |
| 申请人名称 | 震旦(中国)有限公司 |
| 申请人地址 | 上海市嘉定区马陆镇申霞路369号 |
专利法律状态
2023-08-18
授权
状态信息
授权
摘要
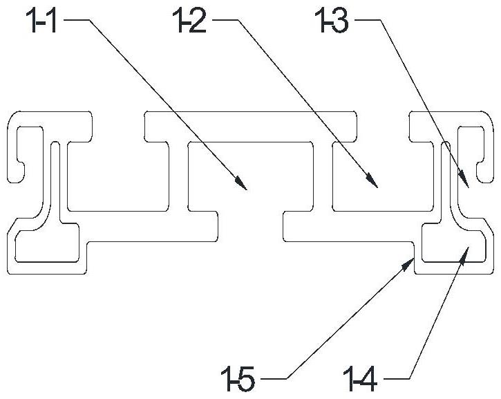
本实用新型涉及一种多接口型材、桌面板支撑组件、挂持组件,其中多接口型材包括型材主体、设于所述型材主体上的底部功能槽、对称设于所述底部功能槽两侧的顶部功能槽、设于所述顶部功能槽侧方的侧面功能槽;所述底部功能槽、顶部功能槽的截面均为T型;所述侧面功能槽的截面为C型。与现有技术相比,本实用新型通过底部功能槽可实现与屏风框架的快速固定,通过顶部及侧面的功能槽实现扩展功能,通过特定的桌板支撑实现与桌板的固定,以此实现屏风结构与其他桌体结构的拓展式耦合。


