授权公布号:CN220638273U
一种环保型木板切割装置
有效
申请
2023-01-30
申请公布
1970-01-01
授权
2024-03-22
预估到期
2033-01-30
| 申请号 | CN202320167898.6 |
| 申请日 | 2023-01-30 |
| 授权公布号 | CN220638273U |
| 授权公告日 | 2024-03-22 |
| 分类号 | B27C5/02;B27G3/00;B27G21/00 |
| 分类 | 木材或类似材料的加工或保存;一般钉钉机或钉U形钉机; |
| 申请人名称 | 震旦(中国)有限公司 |
| 申请人地址 | 上海市嘉定区马陆镇申霞路369号 |
专利法律状态
2024-03-22
授权
状态信息
授权
摘要
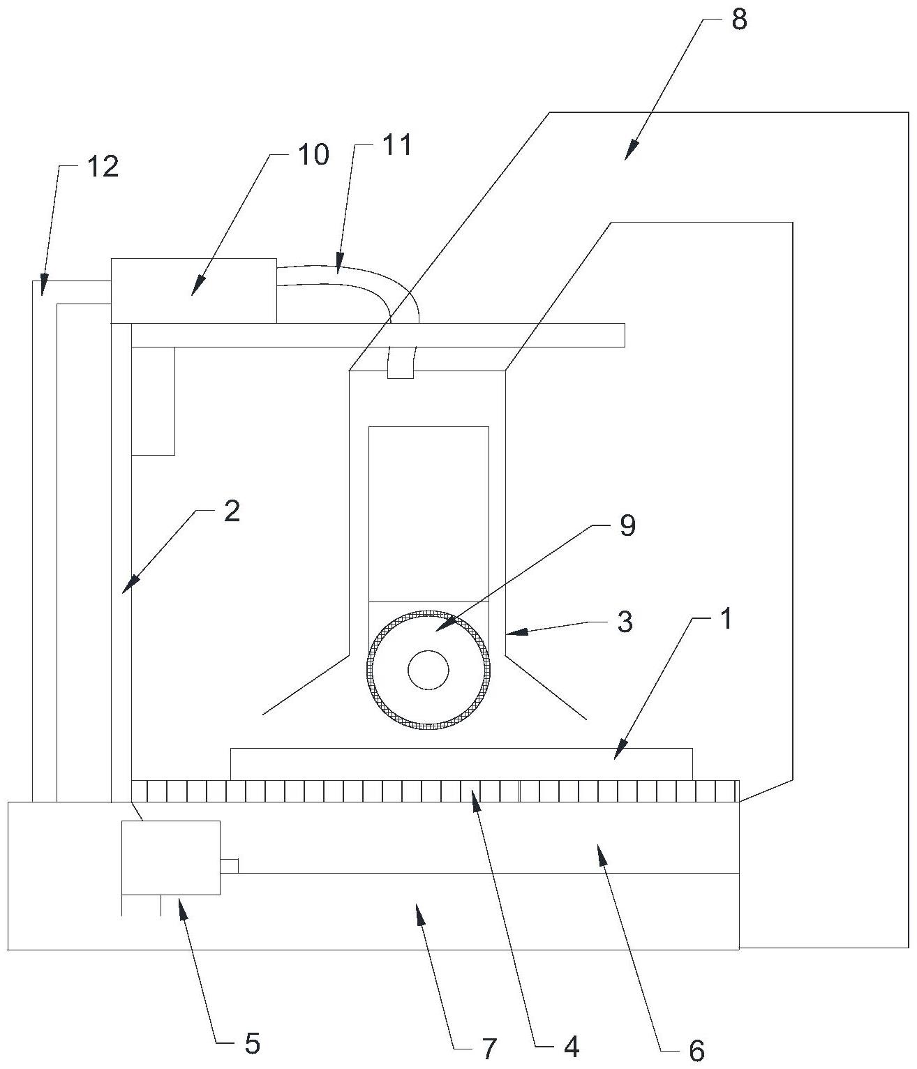
本实用新型涉及一种环保型木板切割装置,包括基台、架体、切割组件、抽吸罩体,其中基台中设有第一抽吸模组,木板置于所述基台上,所述第一抽吸模组能够将木板切割过程中掉落于基台上表面的木屑吸纳;架体设于所述基台上,所述架体上设有第二抽吸模组;切割组件用于木板的切割;抽吸罩体罩设于所述切割组件外部,所述抽吸罩体与所述第二抽吸模组通过管路连接,所述第二抽吸模组将切割时飞溅的木屑自抽吸罩体与切割组件之间的环隙吸纳。与现有技术相比,本实用新型同时构建了下抽吸结构和上抽吸结构,同时实现了掉落木屑的吸纳和飞溅的木屑的吸纳,显著提升了切割车间的环境质量和加工质量。


