授权公布号:CN212814040U
一种蜂蜜杀菌装置
有效
申请
2020-06-16
申请公布
1970-01-01
授权
2021-03-30
预估到期
2030-06-16
| 申请号 | CN202021110114.9 |
| 申请日 | 2020-06-16 |
| 授权公布号 | CN212814040U |
| 授权公告日 | 2021-03-30 |
| 分类号 | A23L3/16;A23L3/28;B01D1/22 |
| 分类 | 其他类不包含的食品或食料;及其处理; |
| 申请人名称 | 冯氏蜂业集团股份有限公司 |
| 申请人地址 | 四川省成都市天府新区万安街道万安路西段360号 |
专利法律状态
2021-03-30
授权
状态信息
授权
摘要
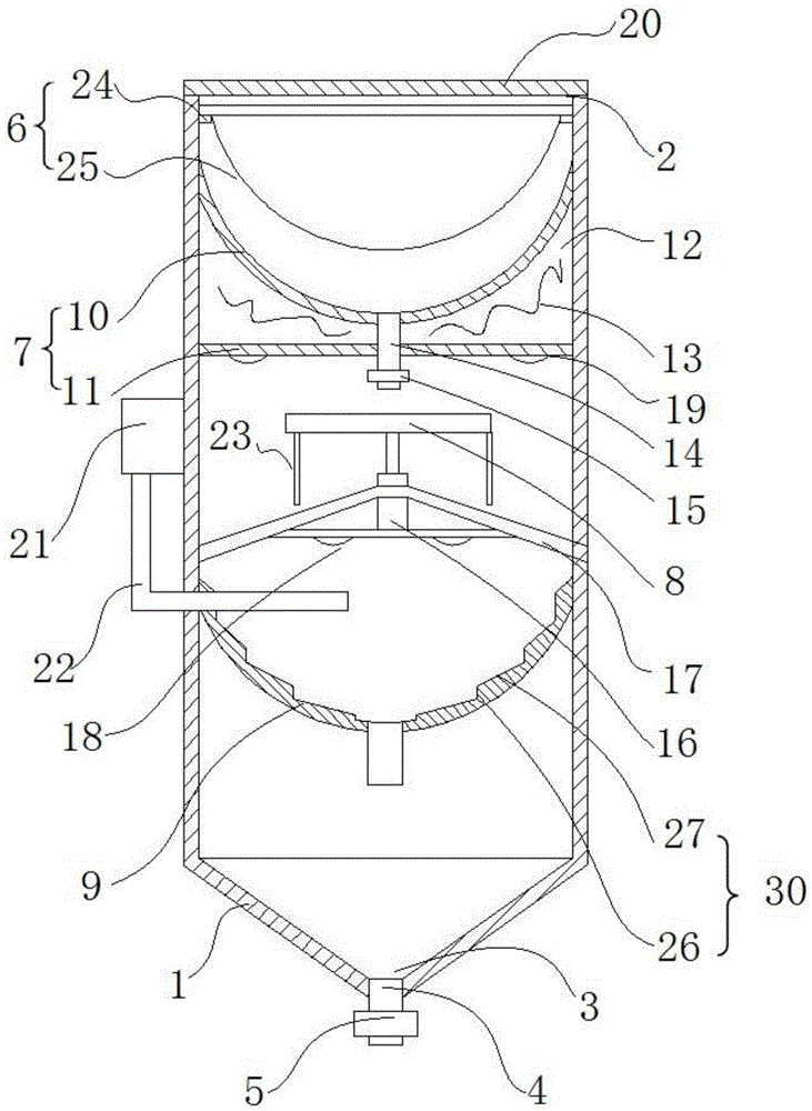
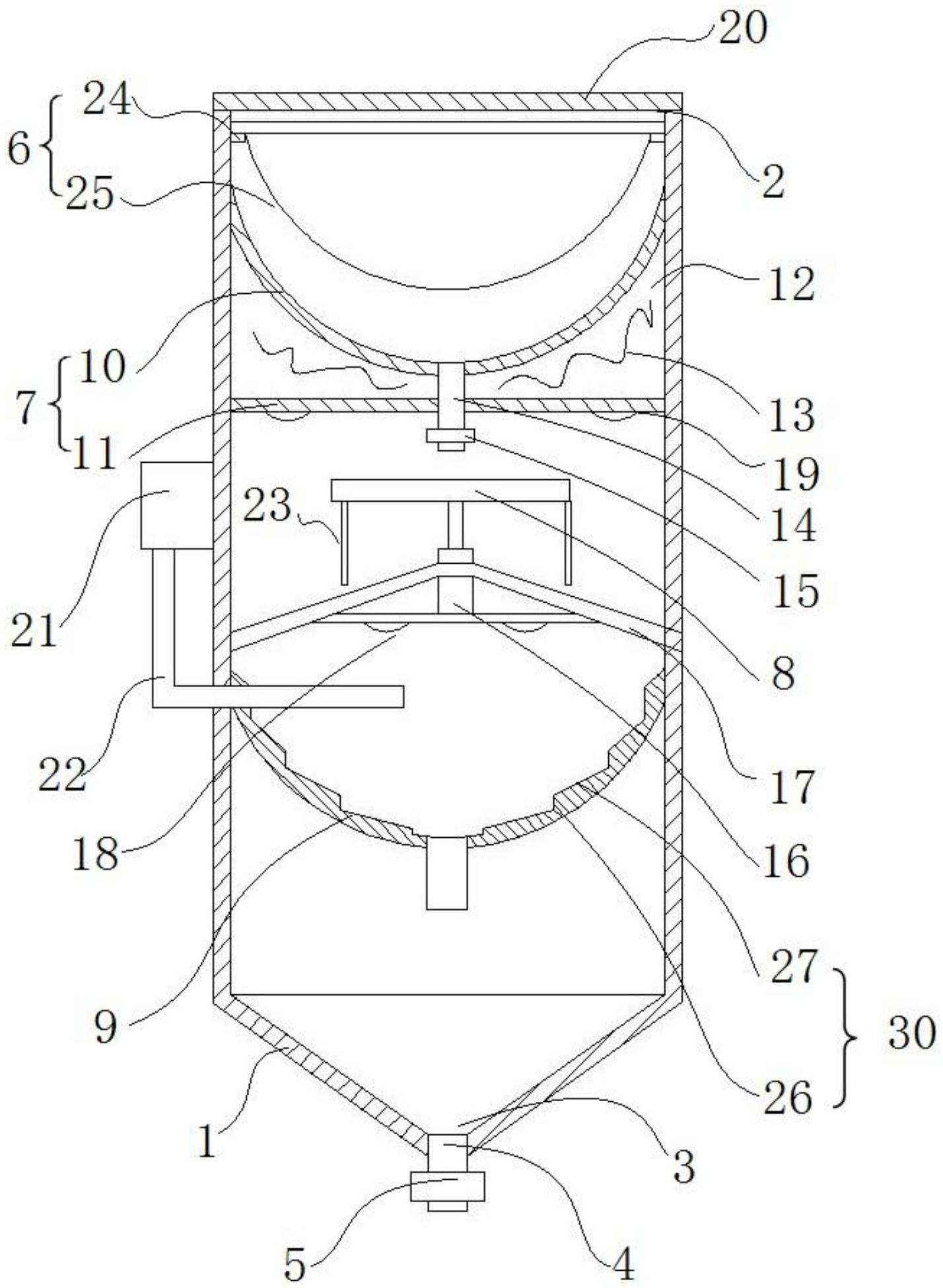
本实用新型公开了一种蜂蜜杀菌装置,包括箱体,箱体上端设置有进料口,下端设置有出料口,出料口处设置有出液管,出液管上设置有阀门;箱体内从上至下依次设置有过滤网组件、水浴加热组件、离心分散盘和导筒,水浴加热组件包括第二隔板和呈半球形结构的第一隔板,第二隔板位于第一隔板的下方,第二隔板及第一隔板与箱体连接,且连接后第二隔板与第一隔板之间形成一用于盛水的间隙,间隙内设置有加热丝;第一隔板上连接有导料管,导料管穿过第二隔板后在导料管端部设置有第一阀门。本实用新型集杀菌及浓缩功能于一体,其具有较好的杀菌及浓缩效果。


