授权公布号:CN213555576U
一种用于过滤蜂蜜的过滤装置
有效
申请
2020-10-30
申请公布
1970-01-01
授权
2021-06-29
预估到期
2030-10-30
| 申请号 | CN202022463647.1 |
| 申请日 | 2020-10-30 |
| 授权公布号 | CN213555576U |
| 授权公告日 | 2021-06-29 |
| 分类号 | B01D29/01;B01D29/86;B01D35/18 |
| 分类 | 一般的物理或化学的方法或装置; |
| 申请人名称 | 冯氏蜂业集团股份有限公司 |
| 申请人地址 | 四川省成都市天府新区万安街道万安路西段360号 |
专利法律状态
2021-06-29
授权
状态信息
授权
摘要
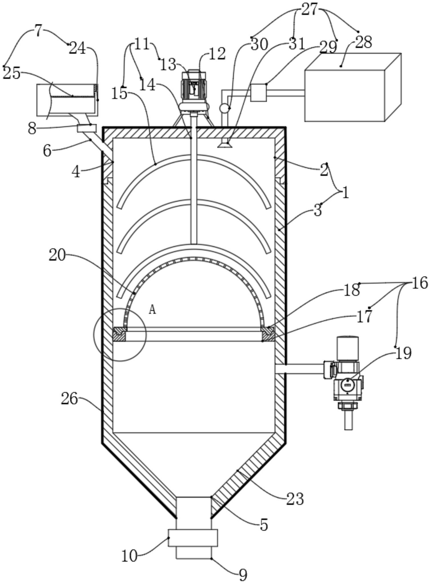
本实用新型公开了一种用于过滤蜂蜜的过滤装置,包括壳体,壳体包括上壳体和下壳体,上壳体与下壳体以可拆卸方式连接,上壳体上设置有进料口,下壳体下端设置有出料口,进料口处通过进料管连接有用于过滤及预热蜂蜜的一级过滤组件,进料管上设置有第一阀门,出料口处设置有出料管,出料管上设置有第二阀门;在壳体上设置有搅拌用于对蜂蜜进行加热及搅拌的搅拌组件,搅拌组件包括通过支架固定安装在上壳体上的搅拌电机,转动安装在上壳体上且穿过上壳体后能够延伸进下壳体内的转轴,以及设置在转轴上的若干电加热搅拌棒。该过滤装置具有过滤速度快,过滤时间短的优点。


