授权公布号:CN213556941U
一种蜂蜜制备加工用融化装置
有效
申请
2020-10-30
申请公布
1970-01-01
授权
2021-06-29
预估到期
2030-10-30
| 申请号 | CN202022463639.7 |
| 申请日 | 2020-10-30 |
| 授权公布号 | CN213556941U |
| 授权公告日 | 2021-06-29 |
| 分类号 | B01J6/00;A23L21/25 |
| 分类 | 一般的物理或化学的方法或装置; |
| 申请人名称 | 冯氏蜂业集团股份有限公司 |
| 申请人地址 | 四川省成都市天府新区万安街道万安路西段360号 |
专利法律状态
2021-06-29
授权
状态信息
授权
摘要
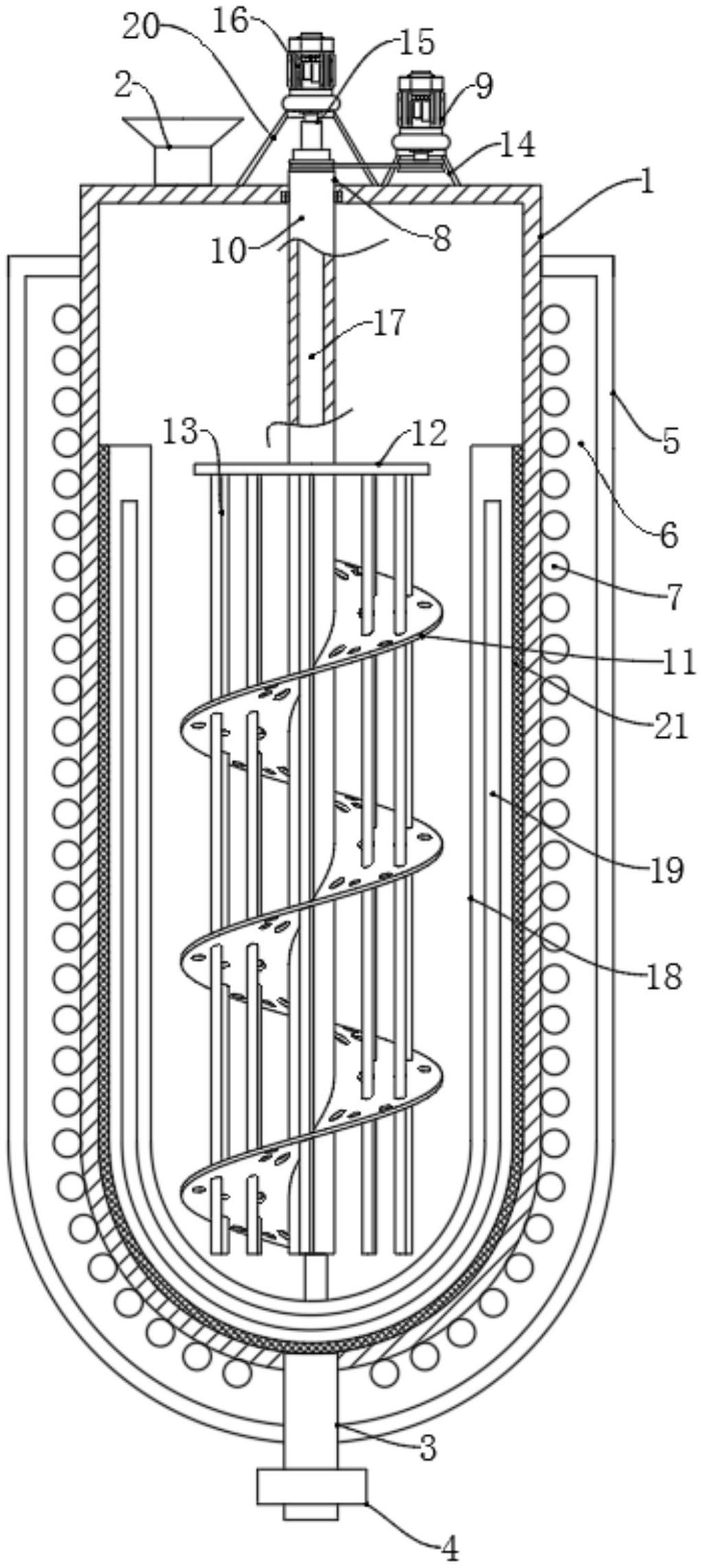
本实用新型公开了一种蜂蜜制备加工用融化装置,包括融化罐和搅拌组件,融化罐上设置有用于进料的进料口和用于出料的出料口,出料口上设置有出料阀门;融化罐外设置有隔热层,隔热层与融化罐内部形成一夹层,夹层内设置有缠绕在融化罐上的加热管,加热管与融化罐外壁贴合,夹层内填充有隔热材料;搅拌组件包括第一搅拌组件,第一搅拌组件包括电机、转轴、螺旋搅拌叶、连接盘和电加热杆,转轴转动安装在融化罐上,转轴下端延伸进融化罐内,螺旋搅拌叶设置在转轴上。本实用新型能够实现凝固蜂蜜的快速融化,并且能够实现对蜂蜜的搅拌。


