授权公布号:CN212450584U
一种蜂蜜生产线上用蜂蜜灌装机
有效
申请
2020-06-16
申请公布
1970-01-01
授权
2021-02-02
预估到期
2030-06-16
| 申请号 | CN202021110113.4 |
| 申请日 | 2020-06-16 |
| 授权公布号 | CN212450584U |
| 授权公告日 | 2021-02-02 |
| 分类号 | B67C3/28;B67C3/22 |
| 分类 | 开启或封闭瓶子、罐或类似的容器;液体的贮运; |
| 申请人名称 | 冯氏蜂业集团股份有限公司 |
| 申请人地址 | 四川省成都市天府新区万安街道万安路西段360号 |
专利法律状态
2021-02-02
授权
状态信息
授权
摘要
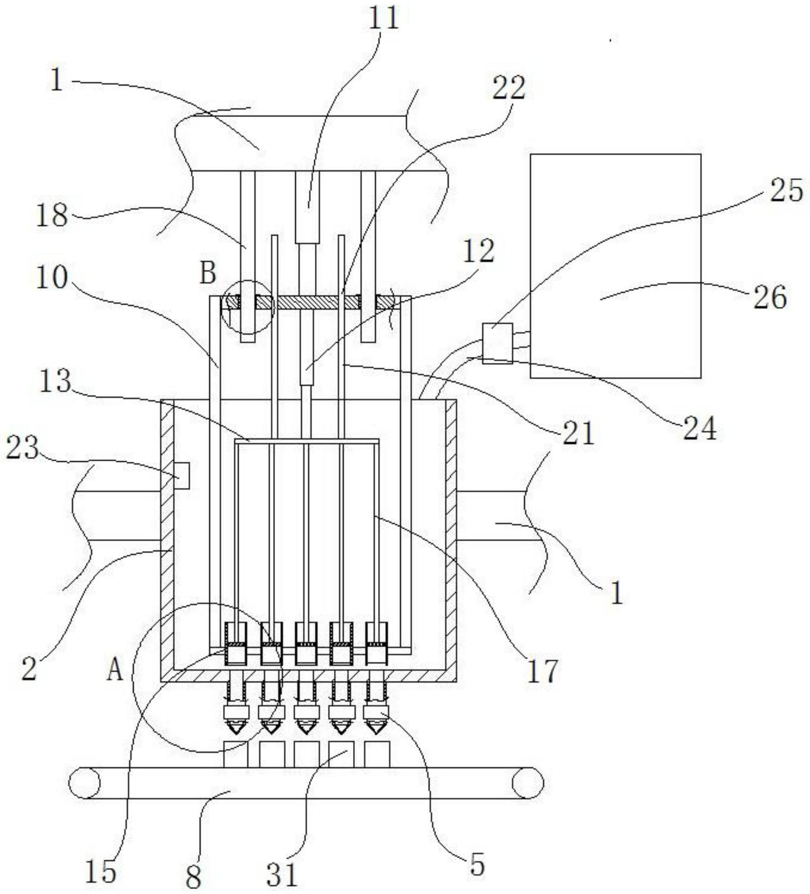
本实用新型公开了一种蜂蜜生产线上用蜂蜜灌装机,包括机架,机架上固定安装有存储罐,存储罐的底部上设置有若干呈阵列分布的出料孔,每一个出料孔均连接有一灌装管,灌装管上设置有一电磁阀,灌装管的端部设置受力后能够打开的橡胶膜瓣,不受力时,橡胶膜瓣呈封闭状态;存储罐内设置有底板,底板上设置有圆孔,每一个圆孔内均固定安装有一圆筒,圆筒的两端均延伸出底板,每一个圆筒均对应一个出料孔,每一个圆筒的下端均设置有缓冲垫;底板上连接有支架,支架通过一第一液压缸与机架连接。本实用新型在使用的时候具有灌装量误差小,灌装效率高的优点。


