授权公布号:CN212457210U
一种室内移动式空气杀菌净化机
有效
申请
2020-06-16
申请公布
1970-01-01
授权
2021-02-02
预估到期
2030-06-16
| 申请号 | CN202021110108.3 |
| 申请日 | 2020-06-16 |
| 授权公布号 | CN212457210U |
| 授权公告日 | 2021-02-02 |
| 分类号 | F24F3/16; |
| 分类 | 供热;炉灶;通风; |
| 申请人名称 | 冯氏蜂业集团股份有限公司 |
| 申请人地址 | 四川省成都市天府新区万安街道万安路西段360号 |
专利法律状态
2021-02-02
授权
状态信息
授权
摘要
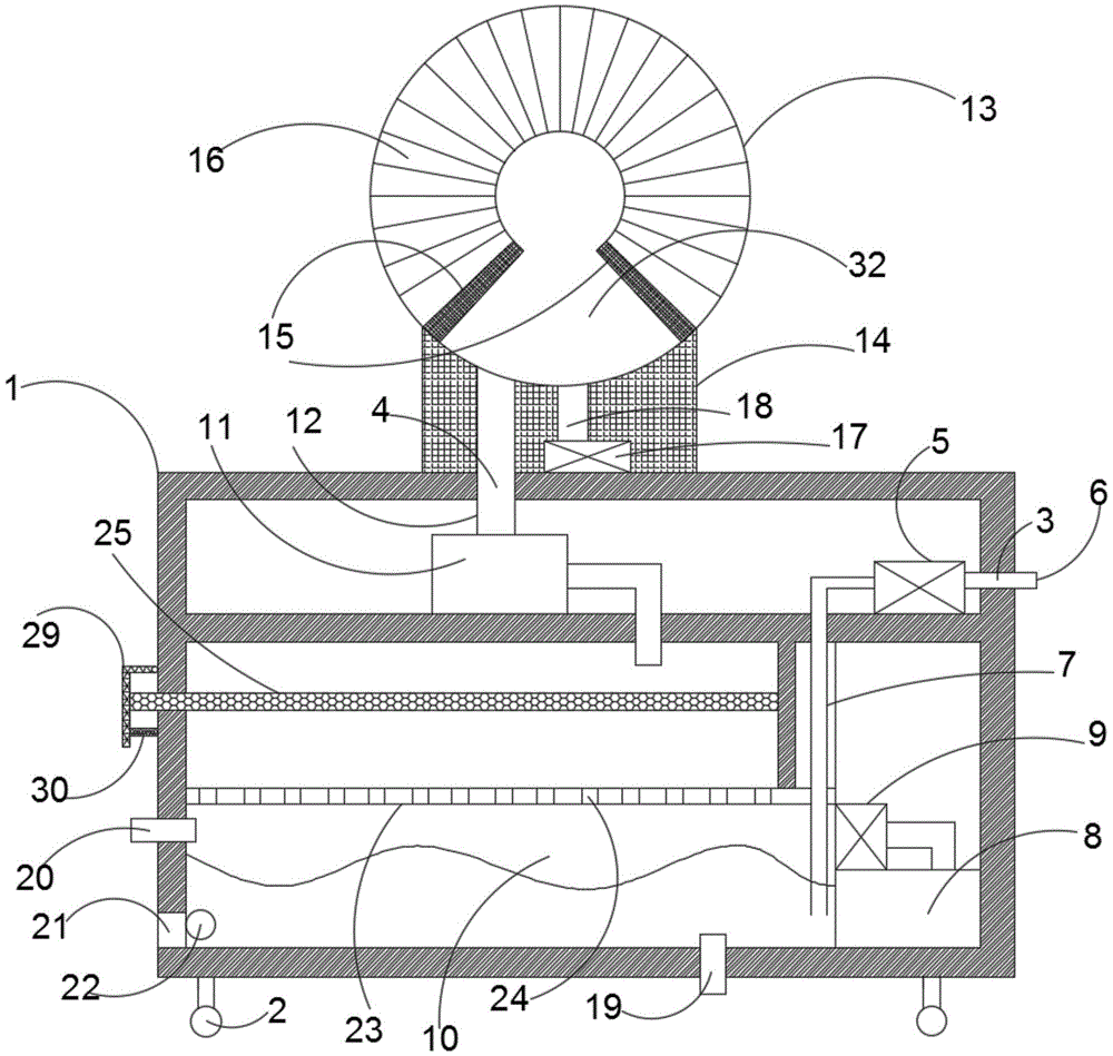
本实用新型提供一种室内移动式空气杀菌净化机,包括机主体、移动轮、进风口、出风口、抽风机、进风管、送风管、臭氧发生器、送风机、水溶液腔、增压泵、出风管和球体喷气装置,机主体下端安装有移动轮,进风管贯穿进风口伸入机主体与抽风机连接,水溶液腔填充有水溶液,送风管一端与抽风机连接,另一端伸入水溶液,送风机一端与臭氧发生器连接,另一端与水溶液腔连接,增压泵一端与水溶液腔连接,另一端与出风管连接,出风管贯穿出风口与球体喷气装置连接。本实用新型解决了现有的空气净化器的净化效果不理想,多为固定式,并不能随意移动;一般只能朝一个方向喷出,喷出角度也有限的问题。


