授权公布号:CN213556614U
一种蜂胶搅拌装置
有效
申请
2020-10-30
申请公布
1970-01-01
授权
2021-06-29
预估到期
2030-10-30
| 申请号 | CN202022469220.2 |
| 申请日 | 2020-10-30 |
| 授权公布号 | CN213556614U |
| 授权公告日 | 2021-06-29 |
| 分类号 | B01F7/18;B01F7/24;B01F15/06;B01F15/00 |
| 分类 | 一般的物理或化学的方法或装置; |
| 申请人名称 | 冯氏蜂业集团股份有限公司 |
| 申请人地址 | 四川省成都市天府新区万安街道万安路西段360号 |
专利法律状态
2021-06-29
授权
状态信息
授权
摘要
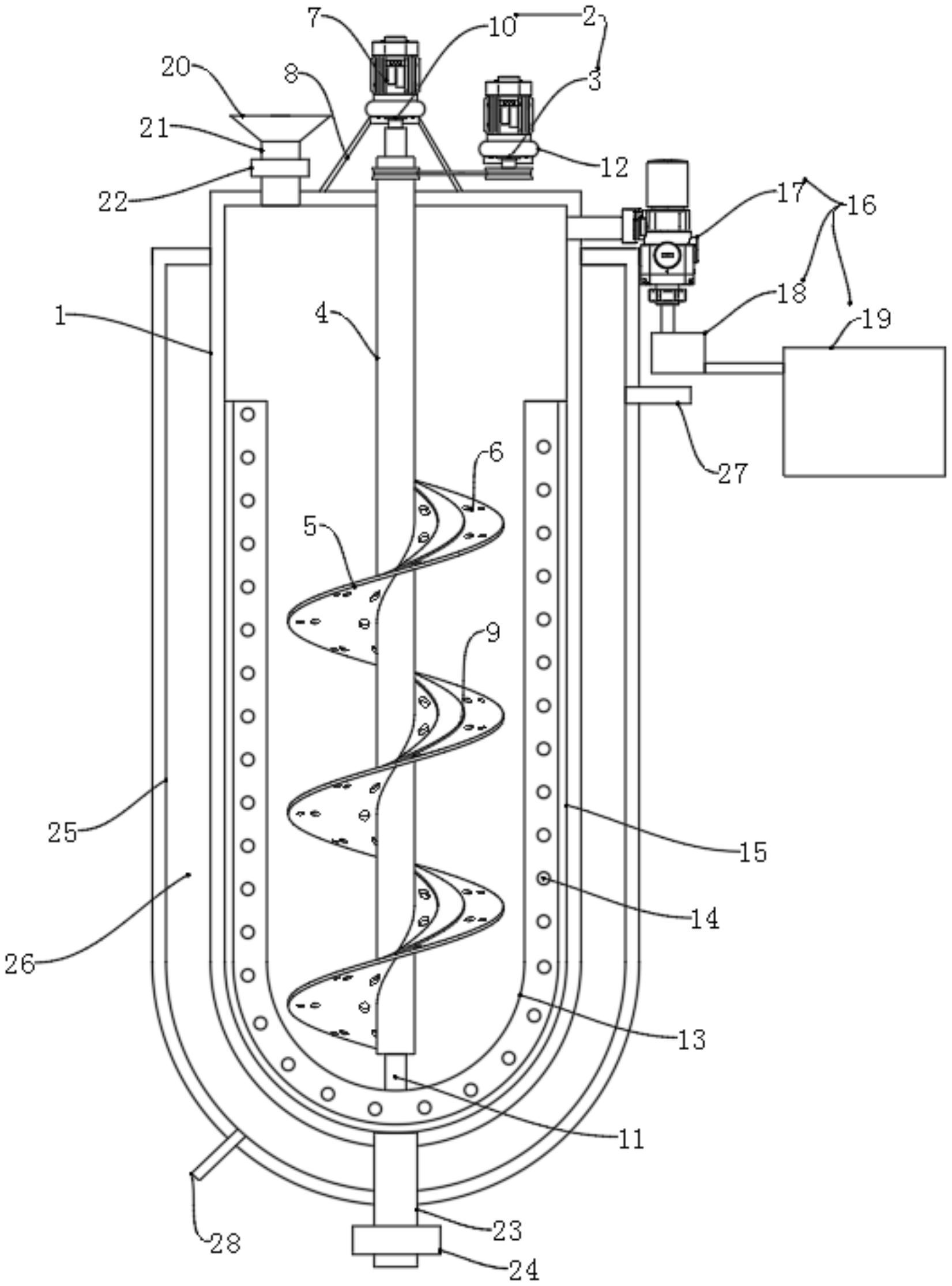
本实用新型公开了一种蜂胶搅拌装置,包括搅拌罐、设置在搅拌罐内的搅拌组件以及连接在搅拌罐上的用于将内部水蒸气进行抽吸的抽气组件;搅拌罐底部呈半球形结构,搅拌罐上端通过进料管连接有进料斗,进料管上设置有进料阀,搅拌罐下端连接以后出料管,出料管上设置有出料阀;搅拌组件包括第一搅拌组件和第二搅拌组件,第一搅拌组件包括外轴、搅拌叶和第一驱动电机,外轴转动安装在搅拌罐上,外轴下端延伸进搅拌罐内,上端与第一驱动电机连接。该装置在使用的时候能够使得蜂胶提取液受热均匀,搅拌更均匀,同时能够有效的防止蜂胶提取液在搅拌罐内壁上凝结,避免其出现结焦的现象。


