授权公布号:CN206897266U
一种蜂胶搅拌装置
有效
申请
2017-07-13
申请公布
1970-01-01
授权
2018-01-19
预估到期
2027-07-13
| 申请号 | CN201720851300.X |
| 申请日 | 2017-07-13 |
| 授权公布号 | CN206897266U |
| 授权公告日 | 2018-01-19 |
| 分类号 | B01F7/18;B01F15/02;B01F15/06 |
| 分类 | 一般的物理或化学的方法或装置; |
| 申请人名称 | 冯氏蜂业集团股份有限公司 |
| 申请人地址 | 四川省成都市天府新区万安街道万安路西段360号 |
专利法律状态
2018-01-19
授权
状态信息
授权
摘要
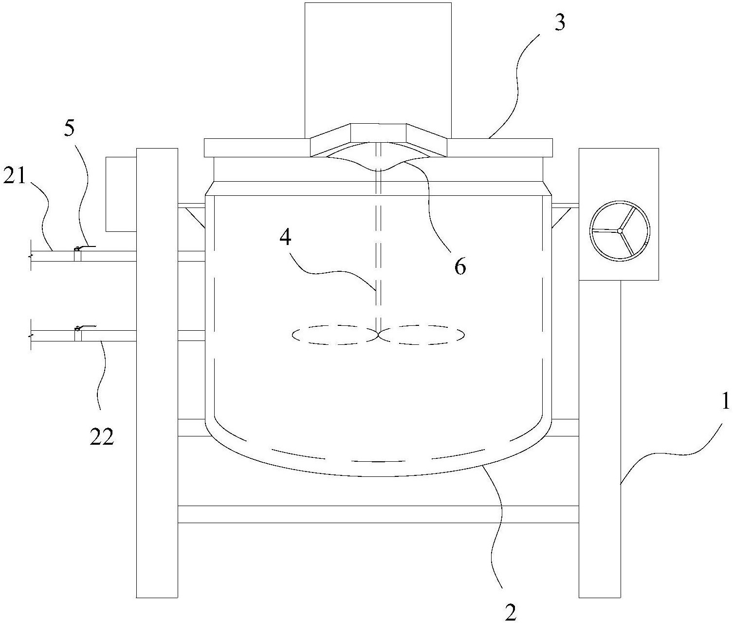
本实用新型涉及一种蜂胶搅拌装置,包括支架和罐体,所述罐体通过旋转部件连接于所述支架上,所述罐体顶部设有适配的上盖,所述上盖能够开启,所述罐体连接有加热装置,所述罐体内设有搅拌装置。采用本装置能够方便的添加蜂胶块,使蜂胶在高温条件下持续接受搅拌,搅拌完成后将所述罐体倾斜,开启所述上盖将蜂胶倾倒,在搅拌过程中也便于对搅拌程度进行检查,方便实用,便于制造,搅拌力度大,搅拌持续性高,有利于提高效率,降低成本。


