授权公布号:CN207157594U
一种蜂蜜脱气及灌装装置
有效
申请
2017-07-07
申请公布
1970-01-01
授权
2018-03-30
预估到期
2027-07-07
| 申请号 | CN201720820266.X |
| 申请日 | 2017-07-07 |
| 授权公布号 | CN207157594U |
| 授权公告日 | 2018-03-30 |
| 分类号 | B65B3/22;B65B63/08;B67C3/22 |
| 分类 | 输送;包装;贮存;搬运薄的或细丝状材料; |
| 申请人名称 | 冯氏蜂业集团股份有限公司 |
| 申请人地址 | 四川省成都市天府新区万安街道万安路西段360号 |
专利法律状态
2018-03-30
授权
状态信息
授权
摘要
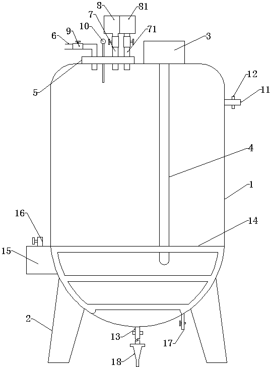
本实用新型涉及一种蜂蜜脱气及灌装装置,包括罐体和支撑脚,罐体顶部设置有震动机,罐体内设置有震动棒,震动棒上端与震动机连接,罐体上端还设置有密封盖,密封盖上设置有进料管,密封盖上设置有抽气管和进气管,抽气管上设置有抽气机,抽气管上设置有灌气泵,密封盖上中部设置有气压表,气压表一端设置在罐体内,罐体上端一侧设置有排水管。本实用新型的有益效果是:通过循环热水器和热水管的设置将水循环加热后灌入热水管内,通过热传递的作用使蜂蜜慢慢融化,取用蜂蜜方便,简单;通过灌气泵和灌装头的设置气压的作用将蜂蜜由出料管压出,能够加快灌装速度,且灌装效果好。


