授权公布号:CN213555803U
一种蜂蜜加工用过滤装置
有效
申请
2020-10-30
申请公布
1970-01-01
授权
2021-06-29
预估到期
2030-10-30
| 申请号 | CN202022463604.3 |
| 申请日 | 2020-10-30 |
| 授权公布号 | CN213555803U |
| 授权公告日 | 2021-06-29 |
| 分类号 | B01D36/00 |
| 分类 | 一般的物理或化学的方法或装置; |
| 申请人名称 | 冯氏蜂业集团股份有限公司 |
| 申请人地址 | 四川省成都市天府新区万安街道万安路西段360号 |
专利法律状态
2021-06-29
授权
状态信息
授权
摘要
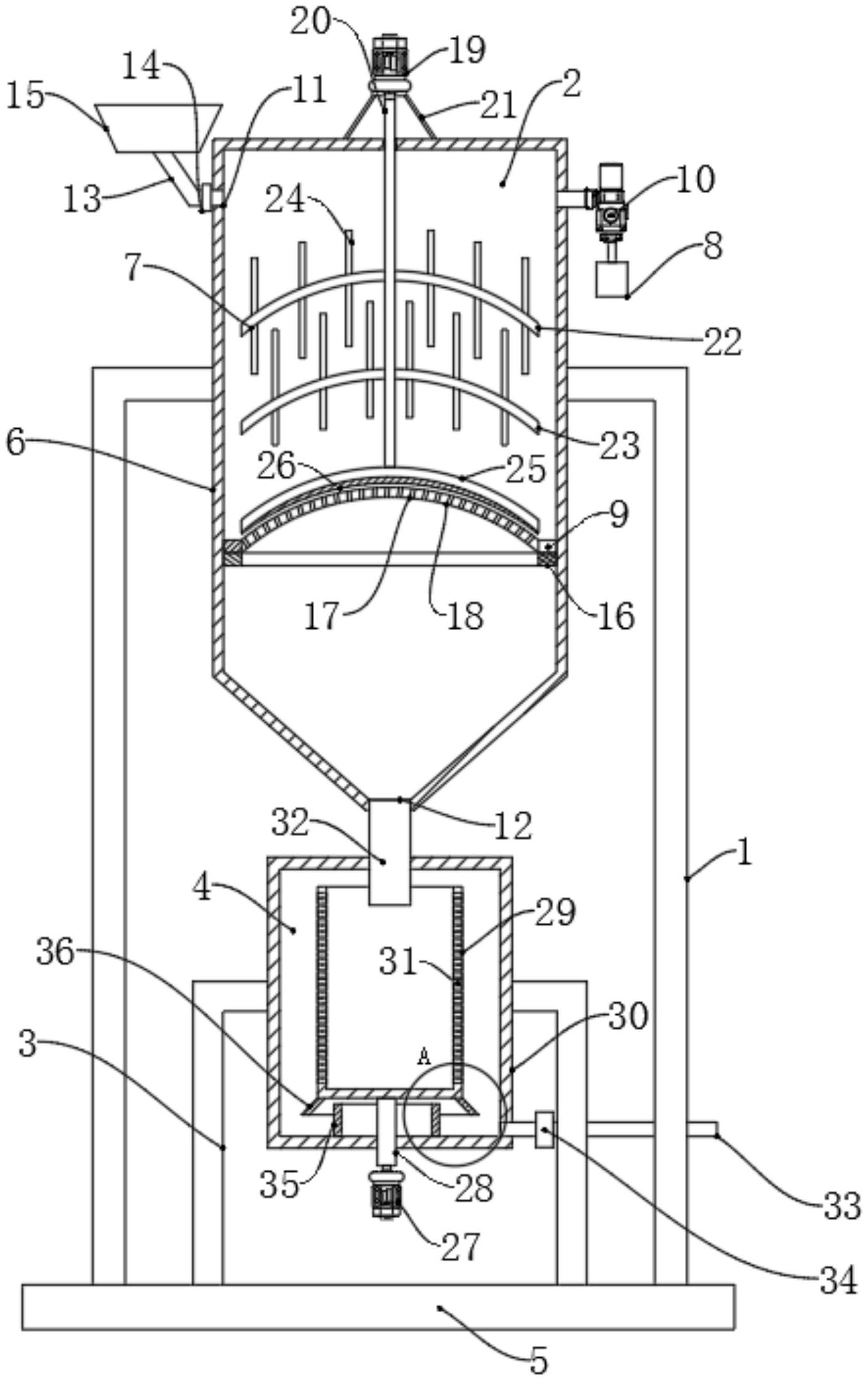
本实用新型公开了一种蜂蜜加工用过滤装置,包括安装在第一支架上的第一过滤组件,位于第一过滤组件下方安装在第二支架上的第二过滤组件,第一支架及第二支架安装在底座上;第一过滤组件与第二过滤组件相互连接;第一过滤组件包括过滤筒、搅拌装置、空气净化器、过滤板和空气增压机,过滤筒下端呈倒圆台状结构,过滤筒上设置有进料口和出料口,进料口连接有进料管,进料管上设置有进料阀,在进料管上设置有进料漏斗,搅拌装置安装在过滤筒内,搅拌装置用于搅拌及加热物料;空气增压机与过滤筒内部连通,空气增压机与空气净化器连接。本实用新型具有过滤效果好,过滤速度快的优点。


