授权公布号:CN207157923U
一种蜂蜜储存装置
有效
申请
2017-07-07
申请公布
1970-01-01
授权
2018-03-30
预估到期
2027-07-07
| 申请号 | CN201720819090.6 |
| 申请日 | 2017-07-07 |
| 授权公布号 | CN207157923U |
| 授权公告日 | 2018-03-30 |
| 分类号 | B65D81/18 |
| 分类 | 输送;包装;贮存;搬运薄的或细丝状材料; |
| 申请人名称 | 冯氏蜂业集团股份有限公司 |
| 申请人地址 | 四川省成都市天府新区万安街道万安路西段360号 |
专利法律状态
2018-03-30
授权
状态信息
授权
摘要
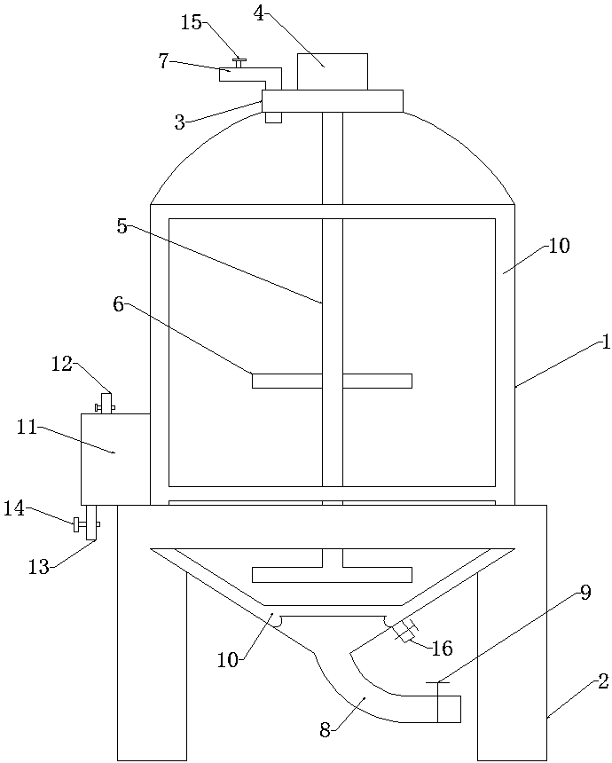
本实用新型涉及一种蜂蜜储存装置,包括存储罐和支架,储存罐安装在支架上,储存罐顶部设置有密封盖,密封盖上设置有电机,电机下端设置有转轴,转轴上设置有搅拌片,密封盖上一侧设置有进料管,进料管上设置有第一阀门,储存罐底部设置有出料管,出料管上设置有第二阀门。本实用新型的有益效果是:通过冷暖水机和过水管的设置,对水进行加热使存储罐内的蜂蜜融化,便于取用,以及降低水温使存储罐内蜂蜜冷却便于保存;设置在存储罐内的搅拌装置可以有效的减少存储罐底部的沉淀,结构简单,实用性强。


