授权公布号:CN114776821B
一种电磁阀体和电磁阀体的装配方法
有效
申请
2022-05-11
申请公布
2022-07-22
授权
2023-12-15
预估到期
2042-05-11
| 申请号 | CN202210510618.7 |
| 申请日 | 2022-05-11 |
| 申请公布号 | CN114776821A |
| 申请公布日 | 2022-07-22 |
| 授权公布号 | CN114776821B |
| 授权公告日 | 2023-12-15 |
| 分类号 | F16K1/36;F16K1/42;F16K1/32;F16K27/02;F16K31/06 |
| 分类 | 工程元件或部件;为产生和保持机器或设备的有效运行的一般措施;一般绝热; |
| 申请人名称 | 浙江三花智能控制股份有限公司 |
| 申请人地址 | 浙江省绍兴市新昌县梅渚镇沃西大道219号 |
专利法律状态
2023-12-15
授权
状态信息
授权
2022-08-09
实质审查的生效
状态信息
实质审查的生效;IPC(主分类):F16K1/36;申请日:20220511
2022-07-22
公布
状态信息
公布
摘要
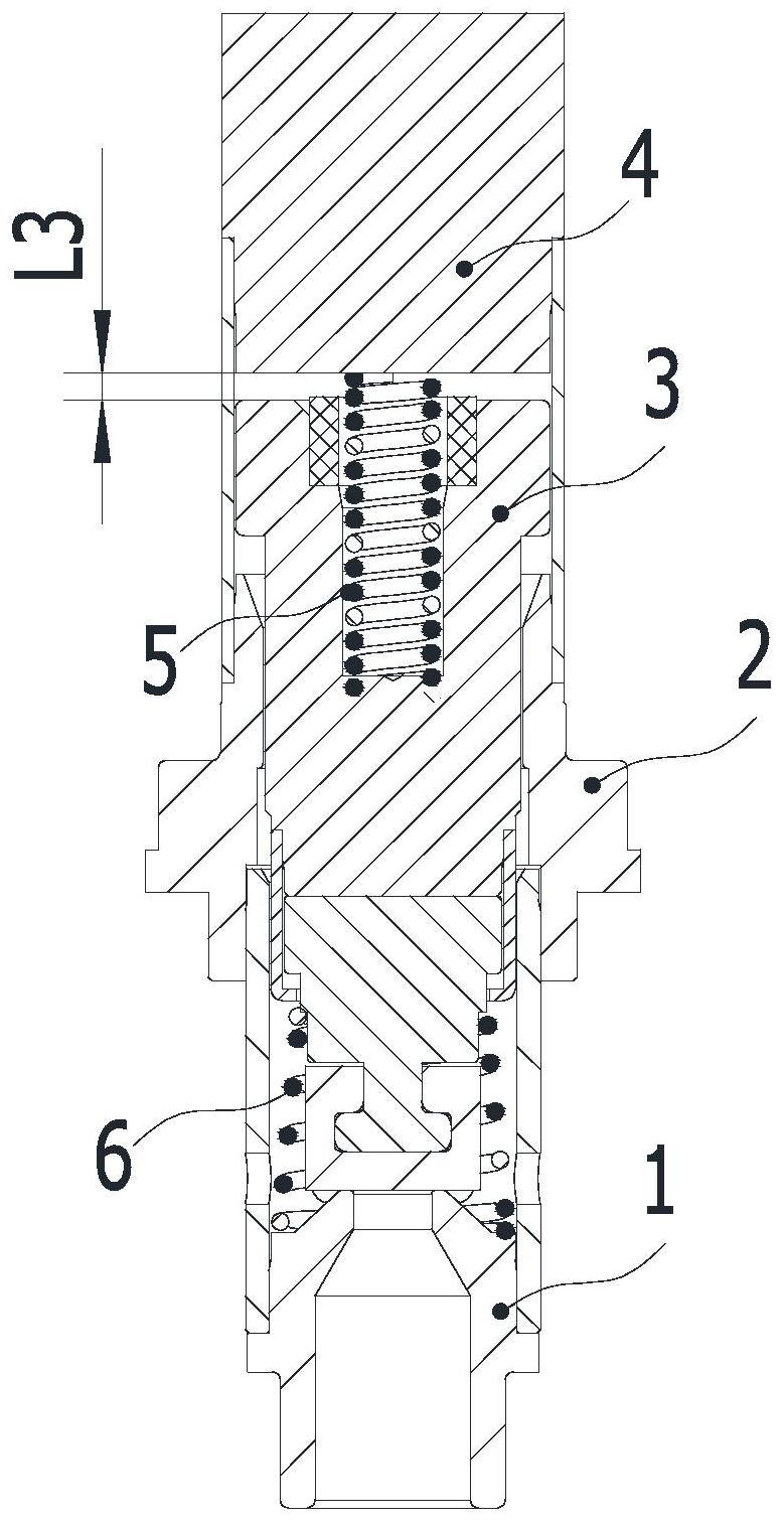
本申请公开一种电磁阀体和电磁阀体的装配方法,包括沿轴向连接的静铁芯部件、阀座部件以及阀座芯部件,所述阀座芯部件包括阀座芯套管和阀座芯,所述阀座芯设置所述电磁阀的阀口,所述阀座芯的上端沿轴向插入所述阀座芯套管并焊接固定;所述阀座芯套管的上端沿轴向插入所述阀座部件并焊接固定。本申请中阀座芯沿轴向插入阀座芯套管,阀座芯套管沿轴向插入阀座,阀座芯套管可设置为直管结构,不需要用板材进行拉伸,加工工艺相对背景技术中的结构更为简单;此外,阀座芯套管沿轴向插入到阀座部件中进行焊接,这样,阀座芯部件插入在阀座部件中的长度较长,插入的部分相当于导向段,如此则同轴度比较容易控制。


