授权公布号:CN220321671U
一种气液分离器
有效
申请
2023-06-30
申请公布
1970-01-01
授权
2024-01-09
预估到期
2033-06-30
| 申请号 | CN202321712834.6 |
| 申请日 | 2023-06-30 |
| 授权公布号 | CN220321671U |
| 授权公告日 | 2024-01-09 |
| 分类号 | F25B43/00 |
| 分类 | 制冷或冷却;加热和制冷的联合系统;热泵系统;冰的制造或储存;气体的液化或固化; |
| 申请人名称 | 浙江三花智能控制股份有限公司 |
| 申请人地址 | 浙江省绍兴市新昌县梅渚镇沃西大道219号 |
专利法律状态
2024-01-09
授权
状态信息
授权
摘要
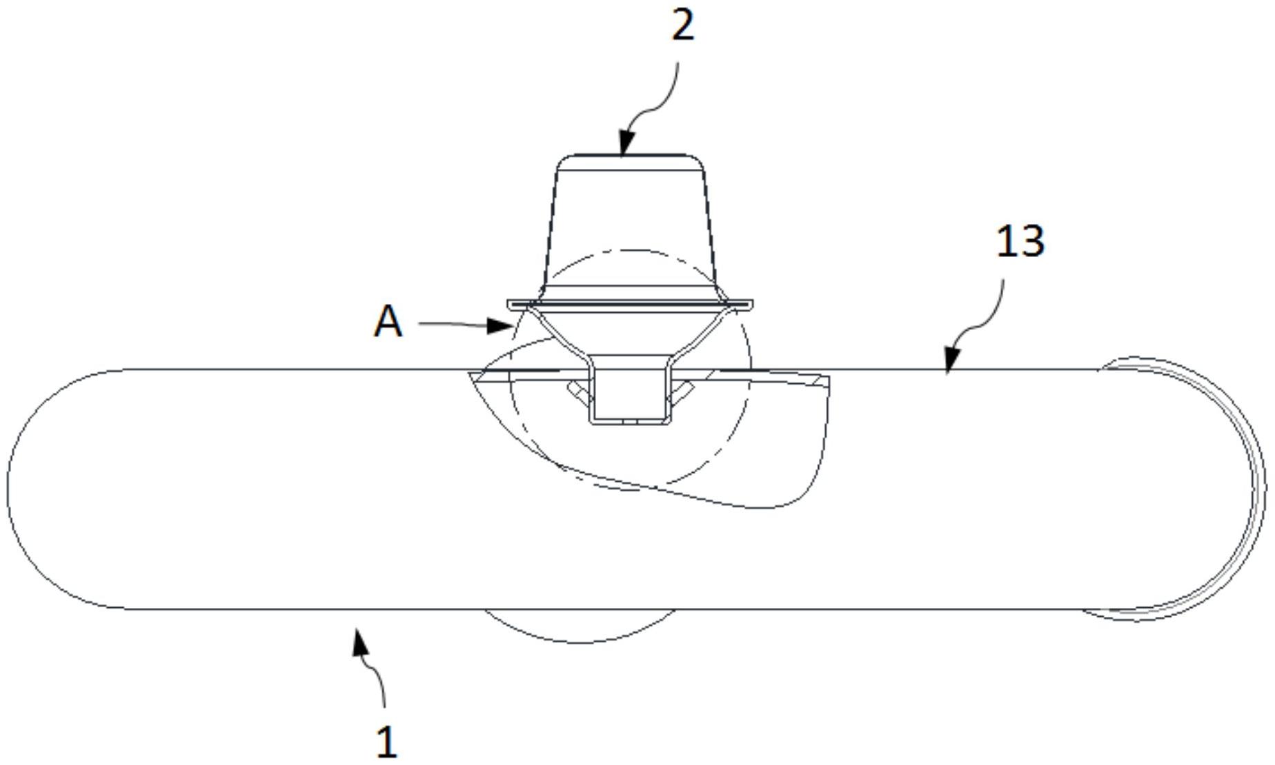
本申请提供一种气液分离器,包括壳体和设置在所述壳体内的弯管,所述弯管的底部管段设置有回油孔,所述弯管的管腔内设置有多个弹性卡扣,多个所述弹性卡扣环绕所述回油孔分布;所述气液分离器还包括过滤部件,所述过滤部件包括插接部,所述插接部插设于所述回油孔,多个所述弹性卡扣抵接所述插接部的外周壁,所述回油孔的孔壁和所述插接部焊接固定。该方案工艺简单、环保、成本低,且固定不易失效。


