授权公布号:CN114321461B
一种燃气比例阀
有效
申请
2020-09-30
申请公布
2022-04-12
授权
2024-01-23
预估到期
2040-09-30
| 申请号 | CN202011061095.X |
| 申请日 | 2020-09-30 |
| 申请公布号 | CN114321461A |
| 申请公布日 | 2022-04-12 |
| 授权公布号 | CN114321461B |
| 授权公告日 | 2024-01-23 |
| 分类号 | F16K17/20;F16K31/06;F16K27/02 |
| 分类 | 工程元件或部件;为产生和保持机器或设备的有效运行的一般措施;一般绝热; |
| 申请人名称 | 浙江三花智能控制股份有限公司 |
| 申请人地址 | 浙江省绍兴市新昌县梅渚镇沃西大道219号 |
专利法律状态
2024-01-23
授权
状态信息
授权
2022-06-07
实质审查的生效
状态信息
实质审查的生效;IPC(主分类):F16K17/20;申请日:20200930
2022-04-12
公布
状态信息
公布
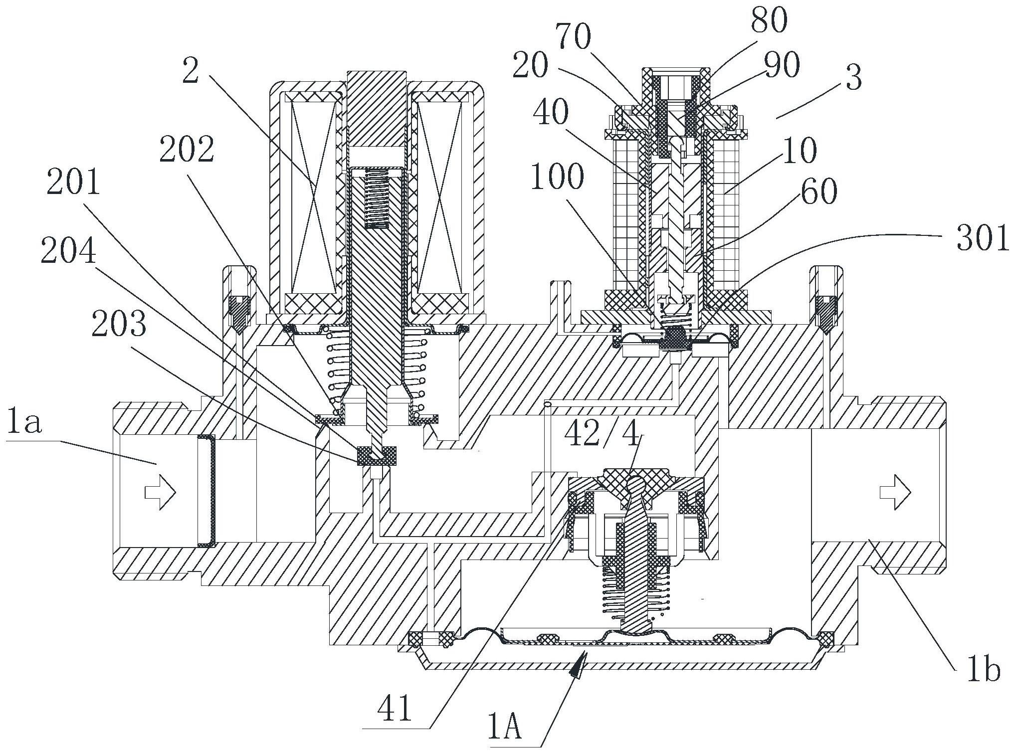
摘要
本发明提供一种新结构的燃气比例阀,使比例调节装置的调节部包括装置包括线圈部件、套管、配合件以及导磁体,线圈部件设有贯通孔,配合件包括卡位部,卡位部包括延伸部和卡扣,延伸部大致沿配合件的轴线轴向延伸,卡扣大致朝靠近配合件的轴线方向径向延伸,第一导磁体设有卡扣容纳部,还包括卡止部,卡位部能够进行变形使卡扣与卡止部卡合限位,至少部分卡扣位于卡扣容纳部,能够使配合件与导磁体的连接方式更加简单。


