授权公布号:CN110939775B
一种电子膨胀阀
有效
申请
2018-09-25
申请公布
2020-03-31
授权
2023-12-29
预估到期
2038-09-25
| 申请号 | CN201811119384.3 |
| 申请日 | 2018-09-25 |
| 申请公布号 | CN110939775A |
| 申请公布日 | 2020-03-31 |
| 授权公布号 | CN110939775B |
| 授权公告日 | 2023-12-29 |
| 分类号 | F16K31/53;F16K31/50;F16K1/38;F16K1/42;F16K27/02;F25B41/34 |
| 分类 | 工程元件或部件;为产生和保持机器或设备的有效运行的一般措施;一般绝热; |
| 申请人名称 | 浙江三花智能控制股份有限公司 |
| 申请人地址 | 浙江省绍兴市新昌县梅渚镇沃西大道219号 |
专利法律状态
2023-12-29
授权
状态信息
授权
2021-07-27
实质审查的生效
状态信息
实质审查的生效;IPC(主分类):F16K31/53;申请日:20180925
2020-03-31
公布
状态信息
公布
摘要
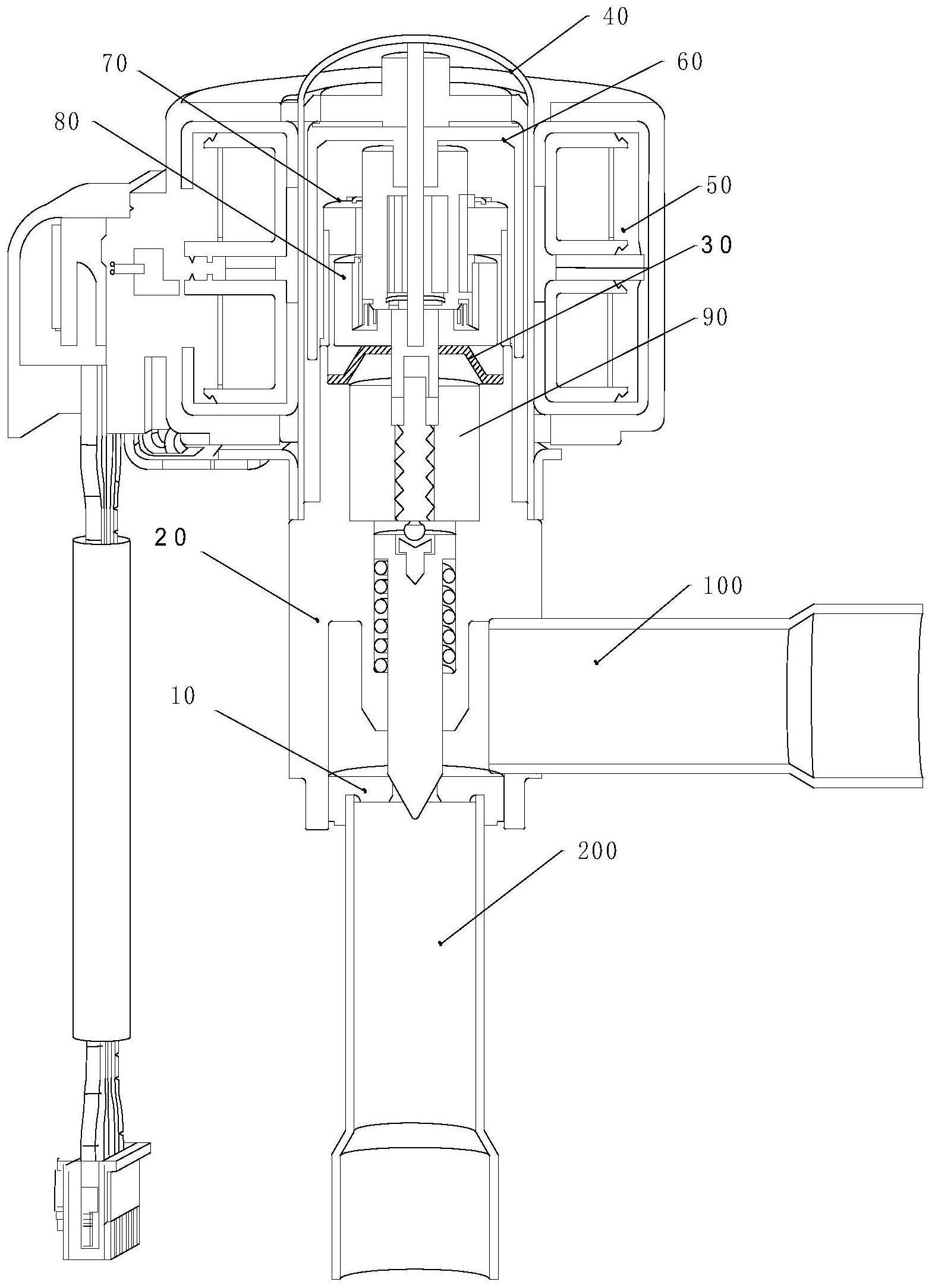
本发明公开了一种电子膨胀阀,包括阀座、阀芯座、减速齿轮装置、支撑部件、螺母组件以及阀针组件,阀座与阀芯座固定连接,阀芯座开设有阀口,阀腔设有减速齿轮装置,支撑部件包括支撑台以及支脚,支脚与阀座固定连接,减速齿轮装置包括输出齿轮,输出齿轮与至少部分支撑台相抵并由支撑台支撑,输出齿轮设有输出轴,输出轴穿过通孔与螺母组件的丝杆传动连接,阀针组件通过丝杆与螺母的螺纹配合作用进行轴向升降运动以接近或远离阀口;该发明输出齿轮的至少部分与支撑台相抵并由支撑台支撑,支撑台可以为输出齿轮提供轴向支撑力,当工作时,因输出齿轮支撑于支撑台上能够减少输出轴偏移中心的现象发生,进而相对提升电子膨胀阀的作动可靠性。


