授权公布号:CN207374831U
一种调料封口机
有效
申请
2017-08-18
申请公布
1970-01-01
授权
2018-05-18
预估到期
2027-08-18
| 申请号 | CN201721042006.0 |
| 申请日 | 2017-08-18 |
| 授权公布号 | CN207374831U |
| 授权公告日 | 2018-05-18 |
| 分类号 | B65B63/02;B65B51/14 |
| 分类 | 输送;包装;贮存;搬运薄的或细丝状材料; |
| 申请人名称 | 宁夏红山河食品股份有限公司 |
| 申请人地址 | 宁夏回族自治区吴忠市清真食品穆斯林用品产业园 |
专利法律状态
2021-03-19
专利权人的姓名或者名称、地址的变更
状态信息
专利权人的姓名或者名称、地址的变更
2018-05-18
授权
状态信息
授权
摘要
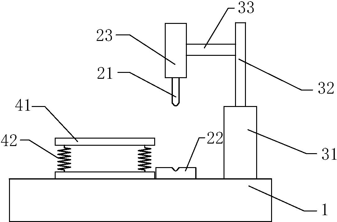
本实用新型公开了一种调料封口机,包括底座、安装于底座上的封口装置、驱动装置,所述封口装置包括热合座及热合刀,所述热合座固定于底座上,其上开设有热合槽,所述热合刀设置于热合座正上方,其刀头与所述热合槽相对应,且所述热合刀下端安装有电热单元,所述热合刀固定于压实座下方,所述压实座通过调节连杆由驱动装置带动上下动作,所述底座上还设置有挤压排气装置。经过改良后,调料封口机上设置的挤压排气装置可以在封口的同时,先将包装袋内的多余气体排出,使得封口工序后的包装袋不至于填充过多气体,从而有效控制调料包装袋的体积,使得其更加便于运输和贮存,并且可以延长产品的保质期,提高产品的质量。


