授权公布号:CN206253446U
一种无辊垃圾分离机
有效
申请
2016-12-01
申请公布
1970-01-01
授权
2017-06-16
预估到期
2026-12-01
| 申请号 | CN201621305823.6 |
| 申请日 | 2016-12-01 |
| 授权公布号 | CN206253446U |
| 授权公告日 | 2017-06-16 |
| 分类号 | B09B3/00;B09B5/00;B01D29/56 |
| 分类 | 固体废物的处理;被污染土壤的再生〔3,6〕; |
| 申请人名称 | 现代牧业(集团)有限公司 |
| 申请人地址 | 安徽省马鞍山市经济技术开发区红旗南路123号 |
专利法律状态
2017-06-16
授权
状态信息
授权
摘要
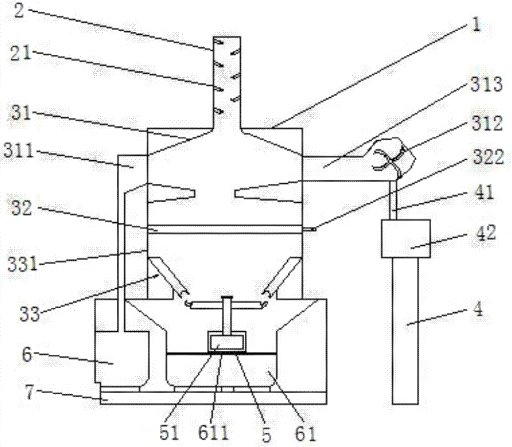
本实用新型公开了一种无辊垃圾分离机,包括垃圾分离箱、进料筒和分离装置,所述垃圾分离箱的上端安装有进料筒,进料筒的内腔面上安装有挂钩,垃圾分离箱的内腔安装有分离装置,分离装置包括分离风箱、分离板和固液分离装置,分离风箱包括第一导管、风扇和风道;所述垃圾分离箱的中间安装有分离板;所述分离板的下端安装有固液分离装置,固液分离装置包括固液箱、第一过滤网和螺杆。该无辊垃圾分离机,对垃圾可以进行多次分离,固体和液体的分离以及较重垃圾和轻碎屑的分离,使得分离出的效果更好,整体适用性更好。


