授权公布号:CN218982465U
香辛料自动清洗装置
有效
申请
2022-09-15
申请公布
1970-01-01
授权
2023-05-09
预估到期
2032-09-15
| 申请号 | CN202222445255.1 |
| 申请日 | 2022-09-15 |
| 授权公布号 | CN218982465U |
| 授权公告日 | 2023-05-09 |
| 分类号 | B08B3/02;B08B13/00 |
| 分类 | 清洁; |
| 申请人名称 | 海乐香辛料(济南)有限公司 |
| 申请人地址 | 山东省济南市高新区机场路2698号 |
专利法律状态
2023-05-09
授权
状态信息
授权
摘要
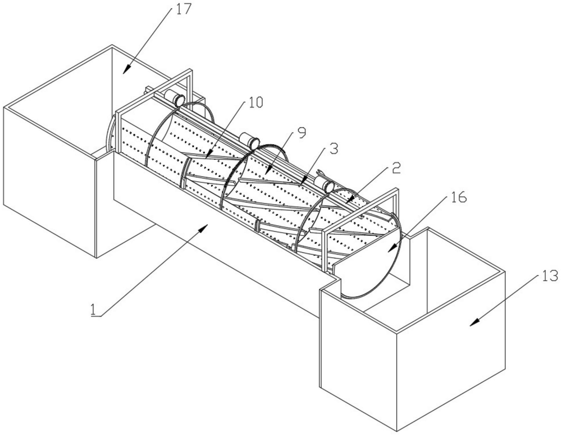
本实用新型公开了香辛料自动清洗装置,包括箱体及用于香辛料清洗的清洁部件,所述清洁部件包括设于箱体一侧的固定架、设于固定架底部的喷液管、多个设于固定架一侧的电机、设于电机一侧的转动轮、设于转动轮一侧的齿轮部、设于齿轮部一侧的从动环、设于从动环一侧的齿槽部、设于从动环一侧的清洁板、多个设于清洁板一侧的弧形板,本实用新型通过设置箱体、固定架、喷液管、电机、转动轮、齿轮部、从动轮、齿槽部、清洁板和弧形板,解决了现有的香辛料清洗装置在清洗时不能够对香辛料进行翻转清洗,清洗效果不好的问题。


