授权公布号:CN217940937U
连续化香辛料冷却分离装置
有效
申请
2022-09-05
申请公布
1970-01-01
授权
2022-12-02
预估到期
2032-09-05
| 申请号 | CN202222346124.8 |
| 申请日 | 2022-09-05 |
| 授权公布号 | CN217940937U |
| 授权公告日 | 2022-12-02 |
| 分类号 | B07B4/08;B07B11/06;B07B11/02;F25D1/00 |
| 分类 | 将固体从固体中分离;分选; |
| 申请人名称 | 海乐香辛料(济南)有限公司 |
| 申请人地址 | 山东省济南市高新区机场路2698号 |
专利法律状态
2022-12-02
授权
状态信息
授权
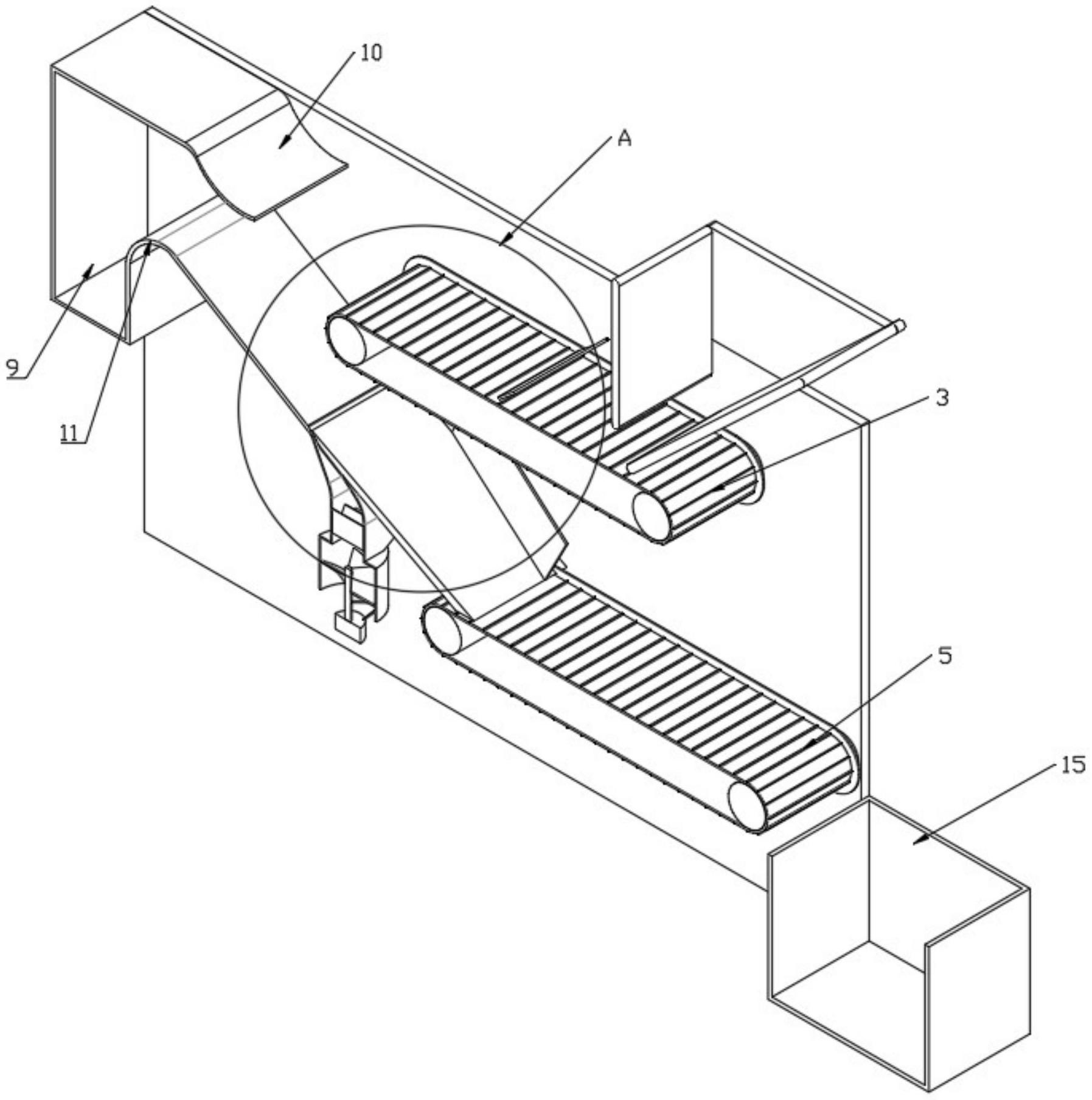
摘要
本实用新型公开了连续化香辛料冷却分离装置,包括本体及用于连续冷却香辛料的冷却部件,所述冷却部件包括设于本体一侧的进料口、设于进料口一侧的第一传送带、设于第一传送带一侧的导料板、设于导料板一侧的第二传送带、设于导料板一侧的通风口、设于通风口一侧的导风管、设于导风管一侧的风机及用于杂质收集的收集部件,本实用新型通过设置本体、进料口、第一传送带、导料板、第二传送带、通风口、导风管、风机及收集部件,解决了现有的香辛料冷却分离装置不方便对香辛料进行连续的冷却,且不方便将香辛料中的杂质进行分离,不便于使用的问题。


