授权公布号:CN217851284U
香辛料颗粒蒸汽灭菌装置
有效
申请
2022-08-25
申请公布
1970-01-01
授权
2022-11-22
预估到期
2032-08-25
| 申请号 | CN202222242960.1 |
| 申请日 | 2022-08-25 |
| 授权公布号 | CN217851284U |
| 授权公告日 | 2022-11-22 |
| 分类号 | A23P30/00;A23L5/20;A23L27/10;F22B1/28 |
| 分类 | 其他类不包含的食品或食料;及其处理; |
| 申请人名称 | 海乐香辛料(济南)有限公司 |
| 申请人地址 | 山东省济南市高新区机场路2698号 |
专利法律状态
2022-11-22
授权
状态信息
授权
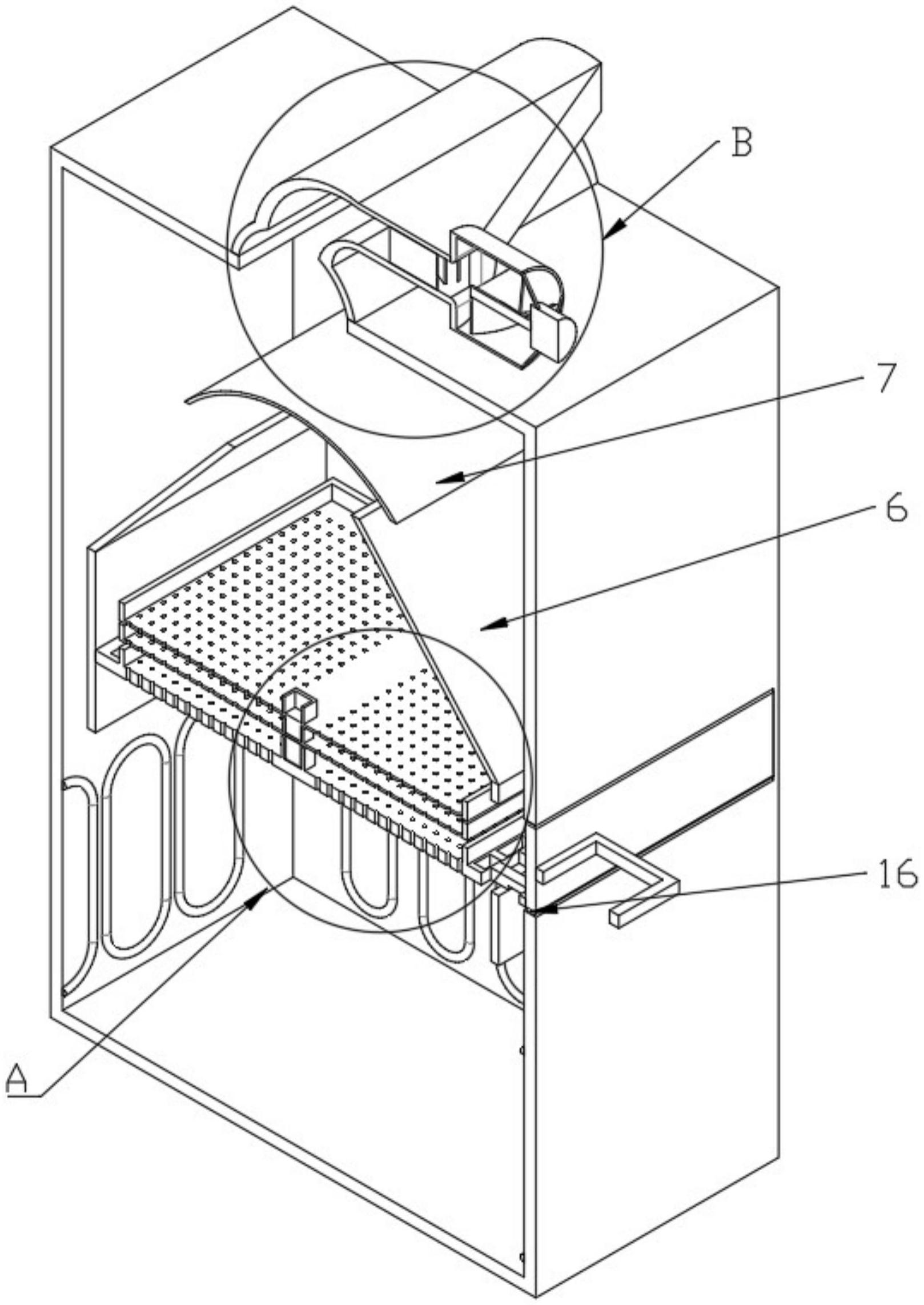
摘要
本实用新型公开了香辛料颗粒蒸汽灭菌装置,包括箱体及用于防止水滴滴落到颗粒香辛料上的导流部件,所述导流部件包括多个设于箱体一侧的加热管、多个设于加热管一侧的放料板、多个设于放料板中部上的通气孔、多个设于通气孔两侧的通水孔、设于通水孔一侧的导流板、设于导流板一侧的弧形板及设于弧形板一侧的通气口,本实用新型通过设置箱体、加热管、放料板、通气孔、通水孔、导流板、弧形板和通气口,解决了现有的香辛料颗粒蒸汽灭菌装置不能够对水蒸气进行二次利用,且部分水蒸汽凝结成的水珠会滴落到颗粒香辛料上的问题。


