授权公布号:CN218797369U
香辛料生产用一体化除尘装置
有效
申请
2022-12-26
申请公布
1970-01-01
授权
2023-04-07
预估到期
2032-12-26
| 申请号 | CN202223496287.0 |
| 申请日 | 2022-12-26 |
| 授权公布号 | CN218797369U |
| 授权公告日 | 2023-04-07 |
| 分类号 | B07B9/00;B07B1/28;B07B1/42;B07B1/46;B07B4/08 |
| 分类 | 将固体从固体中分离;分选; |
| 申请人名称 | 海乐香辛料(济南)有限公司 |
| 申请人地址 | 山东省济南市高新区机场路2698号 |
专利法律状态
2023-04-07
授权
状态信息
授权
摘要
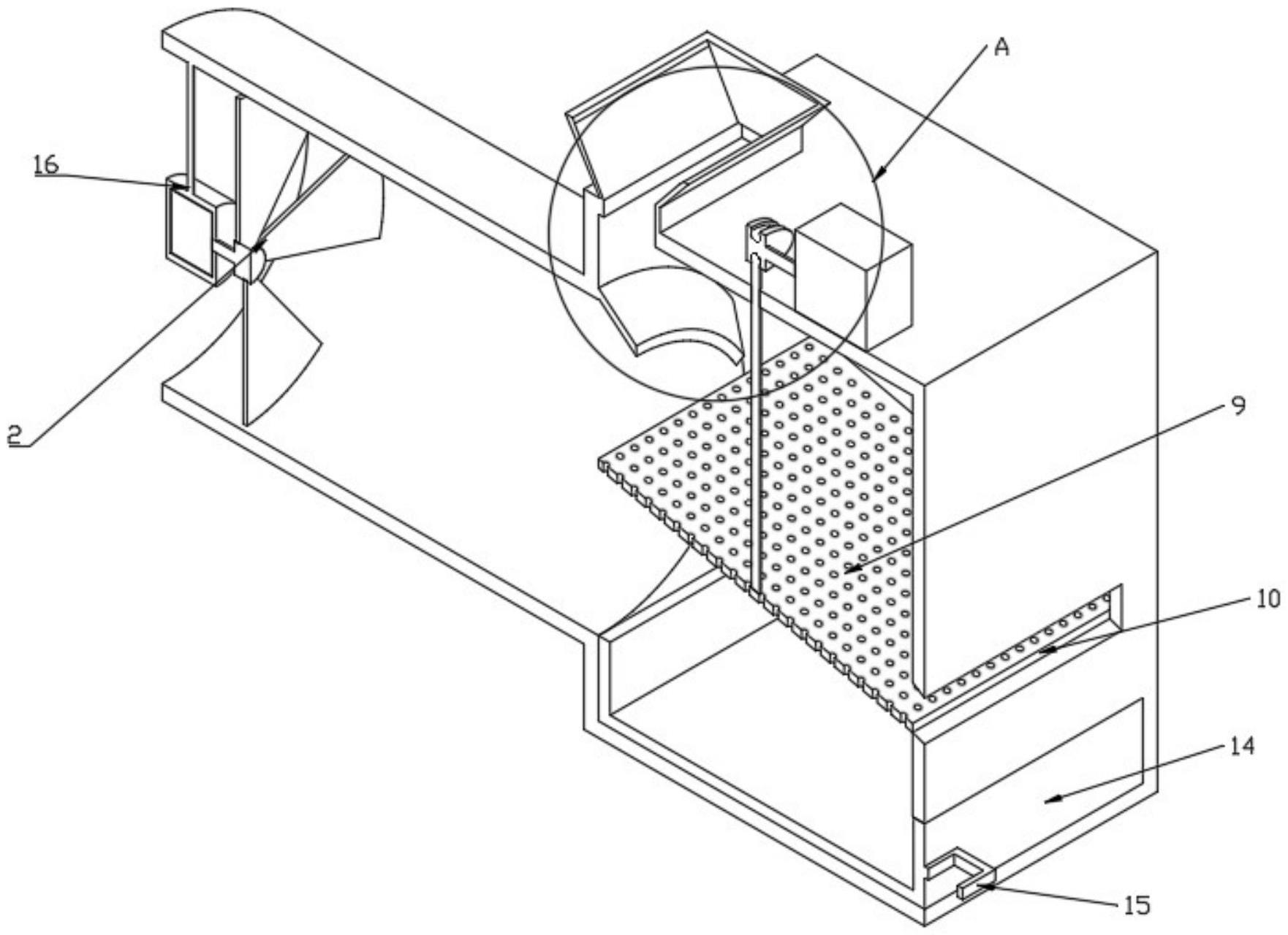
本实用新型公开了香辛料生产用一体化除尘装置,包括箱体及用于颗粒香料除尘的除尘部件,所述除尘部件包括设于箱体一端的风机、设于箱体一侧的放料口、设于放料口一侧的电机、设于电机一侧的转杆、设于转杆一端的弧形板、设于弧形板一侧的转动槽、设于转动槽一侧的拉杆、设于拉杆一侧的过滤板、设于过滤板一侧的出料口,本实用新型通过设置箱体、风机、放料口、电机、转杆、弧形板、转动槽、拉杆、过滤板和出料口等,解决了现有的香辛料除尘装置一般只通过风机带动香辛料之中的灰尘进行清除,但是香辛料之中灰尘有大有小,只通过风机无法针对香辛料之中较大的灰尘,除尘效果不好的问题。


