授权公布号:CN214439836U
一种辣椒酱生产用破碎过滤装置
有效
申请
2020-09-17
申请公布
1970-01-01
授权
2021-10-22
预估到期
2030-09-17
| 申请号 | CN202022036105.6 |
| 申请日 | 2020-09-17 |
| 授权公布号 | CN214439836U |
| 授权公告日 | 2021-10-22 |
| 分类号 | B02C21/00;B02C4/08;B02C18/12;B02C18/22;B02C23/16;B02C23/14;B07B1/04;B07B1/28;B07B1/42;B07B1/46 |
| 分类 | 破碎、磨粉或粉碎;谷物碾磨的预处理; |
| 申请人名称 | 天津市超时调料酿造有限公司 |
| 申请人地址 | 天津市静海区陈官屯镇西钓鱼台村塘大路1号 |
专利法律状态
2021-10-22
授权
状态信息
授权
摘要
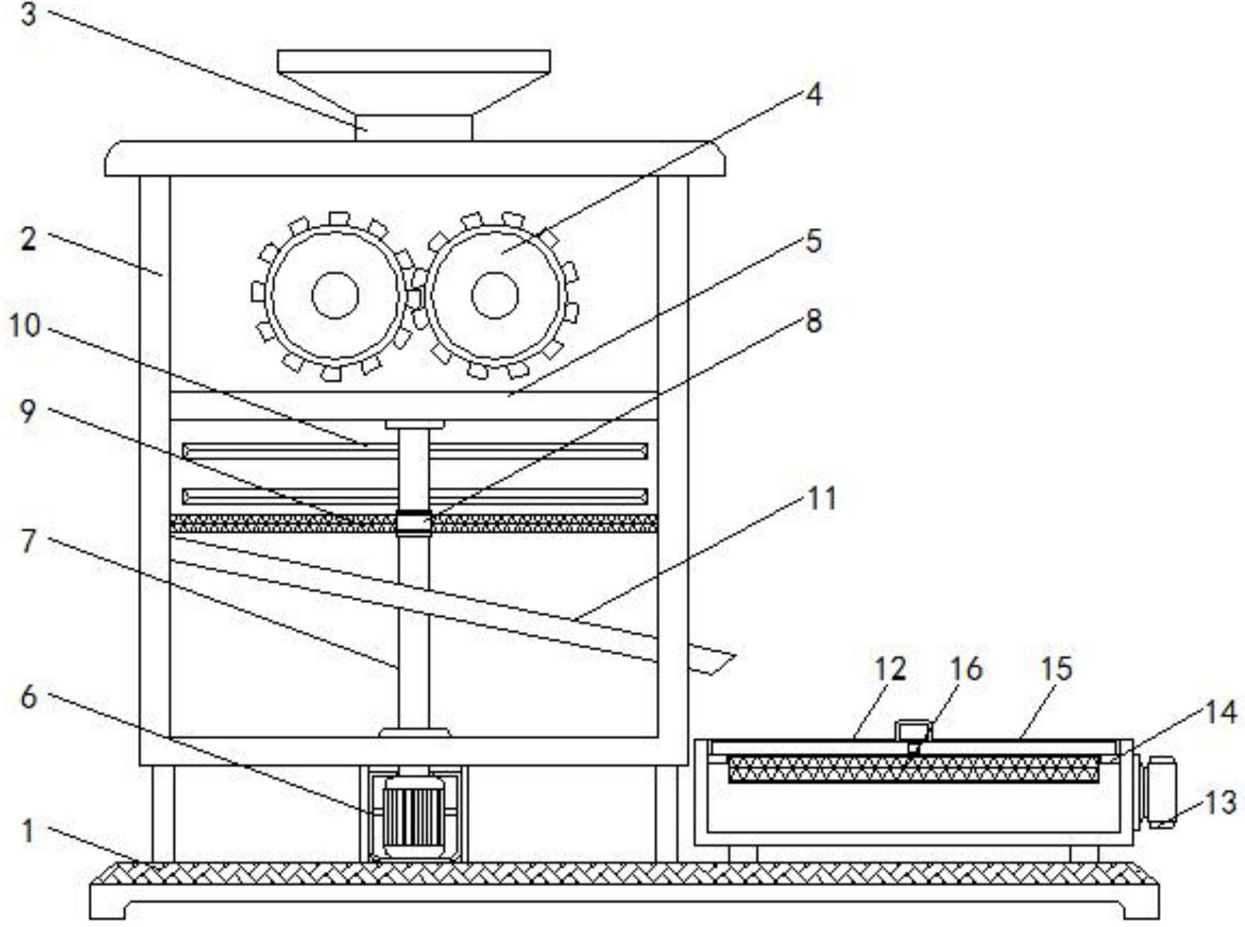
本实用新型涉及辣椒酱生产技术领域,且公开了一种辣椒酱生产用破碎过滤装置,包括底座,所述底座的顶部固定安装有破碎箱,破碎箱的顶部固定安装有进料斗。该辣椒酱生产用破碎过滤装置,通过设置粉碎轮和切割刀,可方便对辣椒进行粉碎,提高了粉碎效率,通过设置出料板,方便将辣椒末排出,通过设置收集网,可方便对辣椒碎末进行收集并且过滤,通过设置振动电机,可提高过滤效果,通过设置定位块,可方便将固定框进行定位,在收集网内部装满时,可拉动拉手,使得定位块与固定框分离,此时即可将固定框和过滤网取出,即可将辣椒碎末倒出,该结构方便将辣椒碎末倒出,操作简单,省时省力,更有利于使用者使用。


