授权公布号:CN204897874U
一种油脂结晶锅
有效
申请
2015-08-24
申请公布
1970-01-01
授权
2015-12-23
预估到期
2025-08-24
| 申请号 | CN201520636958.X |
| 申请日 | 2015-08-24 |
| 授权公布号 | CN204897874U |
| 授权公告日 | 2015-12-23 |
| 分类号 | C11B3/00;B01D9/02 |
| 分类 | 动物或植物油、脂、脂肪物质或蜡;由此制取的脂肪酸;洗涤剂;蜡烛; |
| 申请人名称 | 江西绿海油脂有限公司 |
| 申请人地址 | 江西省吉安市永丰县桥南工业园 |
专利法律状态
2015-12-23
授权
状态信息
授权
摘要
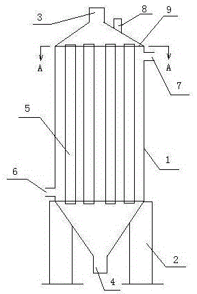
本实用新型公开了一种油脂结晶锅,其特征在于锅身中部为圆柱形,上部为圆锥形,下部为倒圆锥形;圆柱形锅身上、下表面均为圆形水箱挡板,两个圆形水箱挡板之间穿过若干根圆柱形细油管,细油管两端开口;锅身最顶端设有进油口,锅身最下端设有出油口,进油口旁边还设有排气口;锅身圆柱形外壁,上、下水箱挡板和细油管外壁形成封闭的水箱,水箱下部外壁上设有进水口,水箱上部外壁上设有出水口。本实用新型具有设计合理,结构简单,锅内热交换均匀,热交换效率高,成本低等特点。


