授权公布号:CN212818502U
一种食盐生产用收集设备
有效
申请
2020-07-13
申请公布
1970-01-01
授权
2021-03-30
预估到期
2030-07-13
| 申请号 | CN202021370047.4 |
| 申请日 | 2020-07-13 |
| 授权公布号 | CN212818502U |
| 授权公告日 | 2021-03-30 |
| 分类号 | B01D33/80;B01D33/76;B01D33/01 |
| 分类 | 一般的物理或化学的方法或装置; |
| 申请人名称 | 四川省天渠盐化有限公司 |
| 申请人地址 | 四川省达州市渠县渠江镇渠光路997号 |
专利法律状态
2021-03-30
授权
状态信息
授权
摘要
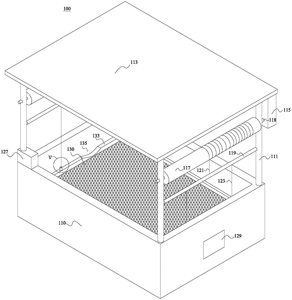
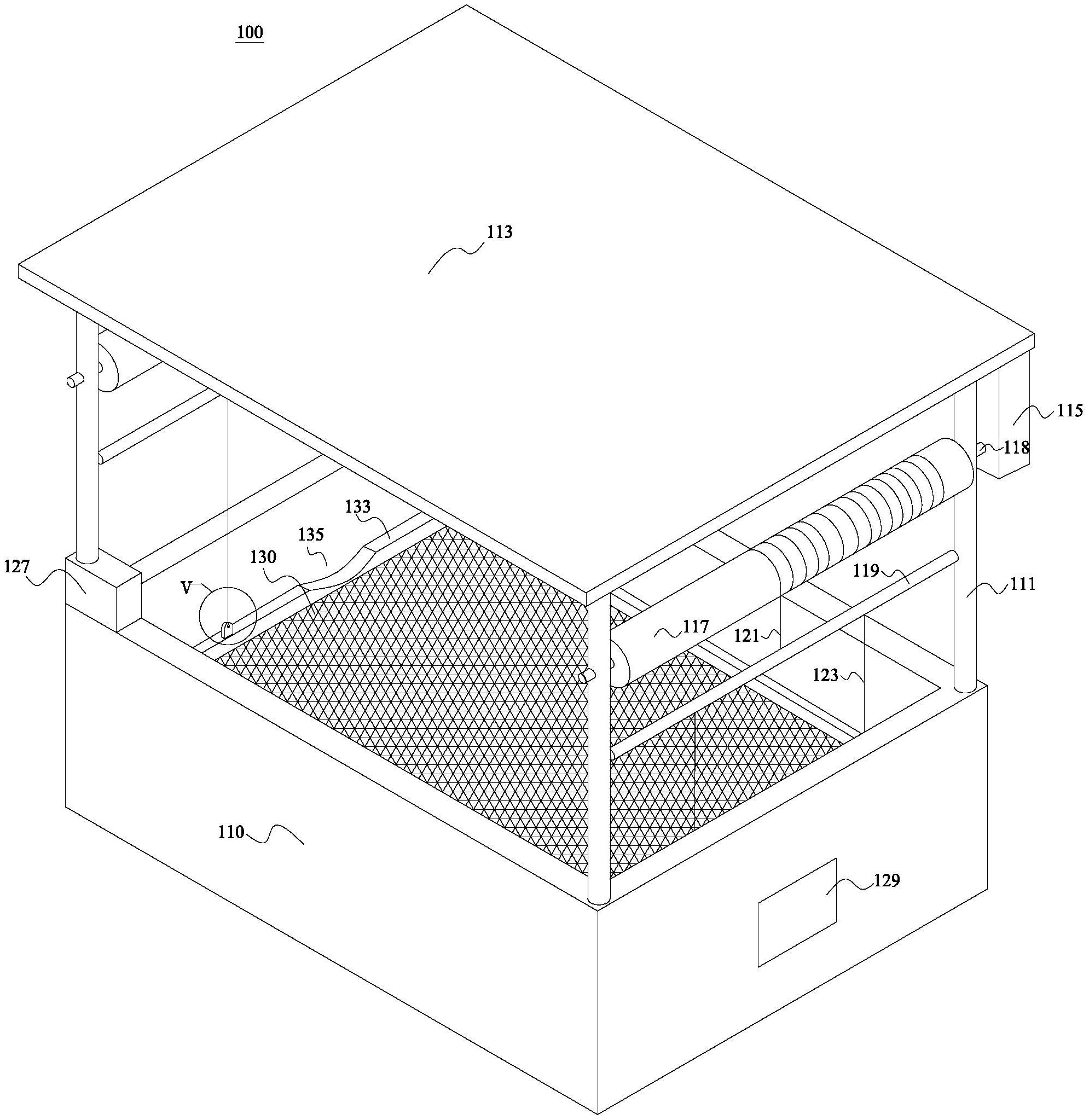
本实用新型提供了一种食盐生产用收集设备,涉及食盐生产技术领域。该食盐生产用收集设备包括储液槽、支撑杆、顶板、电机、卷筒、拉杆、卷线、过滤网、连接线、滑槽和滑柱。支撑杆、顶板的设置,不仅放便电机和卷筒等部件的安装,还能为储液槽提供遮挡,避免杂物落入储液槽中;电机、卷筒、拉杆、卷线、过滤网、连接线、滑槽和滑柱的设置,使得过滤网能在电机的带动下,从储液槽的底部上移,以将储液槽中的晶体打捞收集起来,两个电机可分别启停,以使过滤网露出液面后,过滤网的一端能够高于其另一端,便于从过滤网上取下晶体。


