授权公布号:CN204776377U
一种贴标抚平装置
有效
申请
2015-07-07
申请公布
1970-01-01
授权
2015-11-18
预估到期
2025-07-07
| 申请号 | CN201520482257.5 |
| 申请日 | 2015-07-07 |
| 授权公布号 | CN204776377U |
| 授权公告日 | 2015-11-18 |
| 分类号 | B65C9/36 |
| 分类 | 输送;包装;贮存;搬运薄的或细丝状材料; |
| 申请人名称 | 山东玉兔食品股份有限公司 |
| 申请人地址 | 山东省淄博市周村经济开发区丝绸路1688号 |
专利法律状态
2017-04-12
专利权人的姓名或者名称、地址的变更
状态信息
专利权人的姓名或者名称、地址的变更;IPC(主分类):B65C9/36;变更事项:专利权人;变更前:山东玉兔食品股份有限公司;变更后:山东玉兔食品股份有限公司;变更事项:地址;变更前:255300 山东省淄博市周村区周北开发区丝绸路1688号;变更后:255300 山东省淄博市周村经济开发区丝绸路1688号
2017-03-15
专利权人的姓名或者名称、地址的变更
状态信息
专利权人的姓名或者名称、地址的变更;IPC(主分类):B65C9/36;变更事项:专利权人;变更前:山东玉兔食品有限责任公司;变更后:山东玉兔食品股份有限公司;变更事项:地址;变更前:255300 山东省淄博市周村区周北开发区丝绸路1688号;变更后:255300 山东省淄博市周村区周北开发区丝绸路1688号
2015-11-18
授权
状态信息
授权
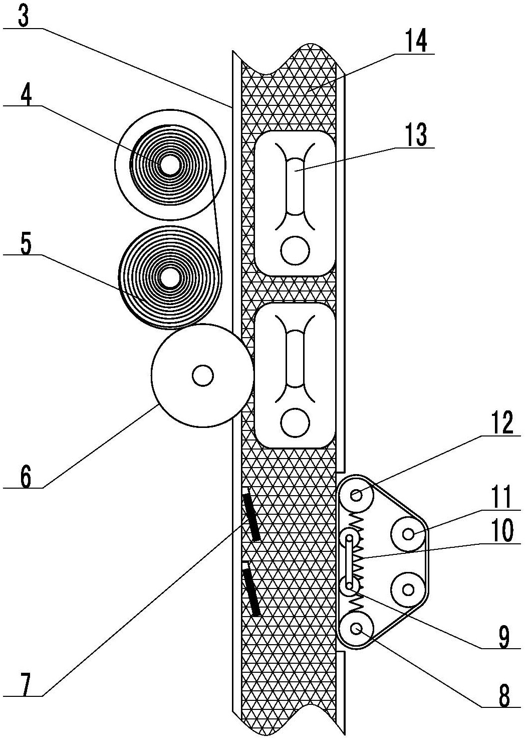
摘要
贴标抚平装置,属于包装设备领域,具体涉及一种外包装贴标抚平装置。其特征在于:还包括抚平器,所述的抚平器包括弹力支撑装置和柔性抚平装置,柔性抚平装置铰接在水平输送装置一侧的护栏上,在柔性抚平装置和护栏之间安装弹力支撑装置;还包括竖直辅助输送装置,竖直辅助输送装置设置在水平输送装置的另一侧,与柔性抚平装置相对应。本装置能在贴标被贴在外包装上后,自动抚平;本装置还能令贴标在被抚平的同时,产品的输送速度不变,更不会出现滞留在生产线上无法移动的情况。


