授权公布号:CN203447837U
一种酱油、醋沉淀罐
失效
申请
2013-09-16
申请公布
1970-01-01
授权
2014-02-26
预估到期
2023-09-16
| 申请号 | CN201320571366.5 |
| 申请日 | 2013-09-16 |
| 授权公布号 | CN203447837U |
| 授权公告日 | 2014-02-26 |
| 分类号 | B01D21/02;A23L1/238;C12J1/10 |
| 分类 | 一般的物理或化学的方法或装置; |
| 申请人名称 | 山东玉兔食品股份有限公司 |
| 申请人地址 | 山东省淄博市周村区周北开发区丝绸路1688号 |
专利法律状态
2023-10-10
专利权的终止
状态信息
专利权有效期届满;IPC(主分类):B01D 21/02;专利号:ZL2013205713665;申请日:20130916;授权公告日:20140226;终止日期:
2017-03-22
专利权人的姓名或者名称、地址的变更
状态信息
专利权人的姓名或者名称、地址的变更;IPC(主分类):B01D21/02;变更事项:专利权人;变更前:山东玉兔食品有限责任公司;变更后:山东玉兔食品股份有限公司;变更事项:地址;变更前:255300 山东省淄博市周村区周北开发区丝绸路1688号;变更后:255300 山东省淄博市周村区周北开发区丝绸路1688号
2014-02-26
授权
状态信息
授权
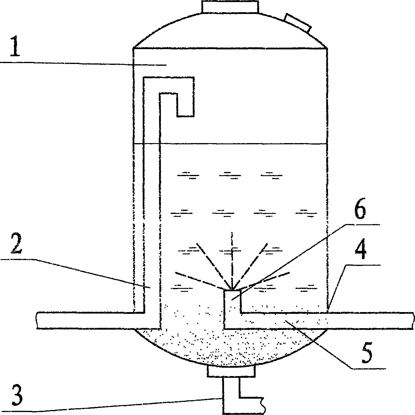
摘要
一种酱油、醋沉淀罐,属于调味品沉淀装置领域,具体涉及一种酱油、醋沉淀罐。其包括罐体,在罐体中部设置出料口,特征在于还包括导流管,导流管能够过出料口进入罐体内,导流管在罐体内的开口位于罐体的中部且朝向罐体的顶部。本设计能使得泵体通过导流管抽取罐体内液体时,只会抽取到上层清液,不会抽入沉淀物,达到沉淀与清液充分分离的目的,不会令产品产生二次沉淀的问题,保证了产品产出质量的恒定高质。并且,由于本沉淀罐的设计能够抽取上罐体内上层清液,不会因沉淀不够充分而吸取下部的沉淀物,因此缩短了原本的沉淀时间,提高了工作效率。


