授权公布号:CN204778751U
一种双室负压灌装机
有效
申请
2015-07-07
申请公布
1970-01-01
授权
2015-11-18
预估到期
2025-07-07
| 申请号 | CN201520482677.3 |
| 申请日 | 2015-07-07 |
| 授权公布号 | CN204778751U |
| 授权公告日 | 2015-11-18 |
| 分类号 | B67C3/06;B67C3/26 |
| 分类 | 开启或封闭瓶子、罐或类似的容器;液体的贮运; |
| 申请人名称 | 山东玉兔食品股份有限公司 |
| 申请人地址 | 山东省淄博市周村经济开发区丝绸路1688号 |
专利法律状态
2017-04-19
专利权人的姓名或者名称、地址的变更
状态信息
专利权人的姓名或者名称、地址的变更;IPC(主分类):B67C3/06;变更事项:专利权人;变更前:山东玉兔食品股份有限公司;变更后:山东玉兔食品股份有限公司;变更事项:地址;变更前:255300 山东省淄博市周村区周北开发区丝绸路1688号;变更后:255300 山东省淄博市周村经济开发区丝绸路1688号
2017-03-15
专利权人的姓名或者名称、地址的变更
状态信息
专利权人的姓名或者名称、地址的变更;IPC(主分类):B67C3/06;变更事项:专利权人;变更前:山东玉兔食品有限责任公司;变更后:山东玉兔食品股份有限公司;变更事项:地址;变更前:255300 山东省淄博市周村区周北开发区丝绸路1688号;变更后:255300 山东省淄博市周村区周北开发区丝绸路1688号
2015-11-18
授权
状态信息
授权
摘要
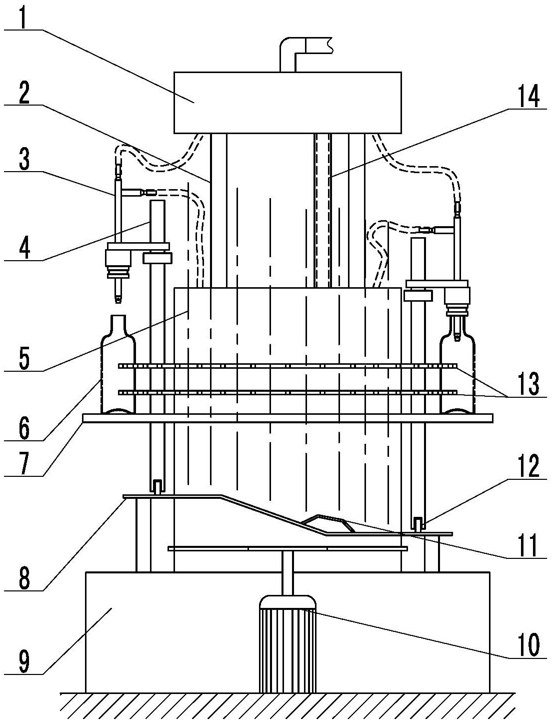
一种双室负压灌装机,属于灌装设备领域,具体涉及一种双室液料负压灌装机。包括底座、旋转动力装置和旋转机架;旋转动力装置固定在底座上,旋转动力装置能够带动旋转机架转动。本装置独创的破真空过桥结构,当灌装完毕后,升降导柱由升降导轨的低导轨面向高导轨面的运动,从而带动双管灌装头抬升,破真空过桥的高度小于双管灌装头灌装作业时插入灌装瓶的深度,因此双管灌装头只是将瓶口密封塞抬升脱离瓶口,实现初步破真空,而内管和外管还未脱离灌装瓶,因此能够令管内的残余液体依旧流入灌装瓶内,不会发生喷溅。此设计不但令产品的灌装过程更为整洁,省去了人工擦拭整理外包装的步骤,提高了生产效率,保证了产品的出厂质量。


