授权公布号:CN203448028U
一种空气搅拌调配罐
失效
申请
2013-09-16
申请公布
1970-01-01
授权
2014-02-26
预估到期
2023-09-16
| 申请号 | CN201320571368.4 |
| 申请日 | 2013-09-16 |
| 授权公布号 | CN203448028U |
| 授权公告日 | 2014-02-26 |
| 分类号 | B01F13/02 |
| 分类 | 一般的物理或化学的方法或装置; |
| 申请人名称 | 山东玉兔食品股份有限公司 |
| 申请人地址 | 山东省淄博市周村区周北开发区丝绸路1688号 |
专利法律状态
2023-10-10
专利权的终止
状态信息
专利权有效期届满;IPC(主分类):B01F 13/02;专利号:ZL2013205713684;申请日:20130916;授权公告日:20140226;终止日期:
2017-03-29
专利权人的姓名或者名称、地址的变更
状态信息
专利权人的姓名或者名称、地址的变更;IPC(主分类):B01F13/02;变更事项:专利权人;变更前:山东玉兔食品有限责任公司;变更后:山东玉兔食品股份有限公司;变更事项:地址;变更前:255300 山东省淄博市周村区周北开发区丝绸路1688号;变更后:255300 山东省淄博市周村区周北开发区丝绸路1688号
2014-02-26
授权
状态信息
授权
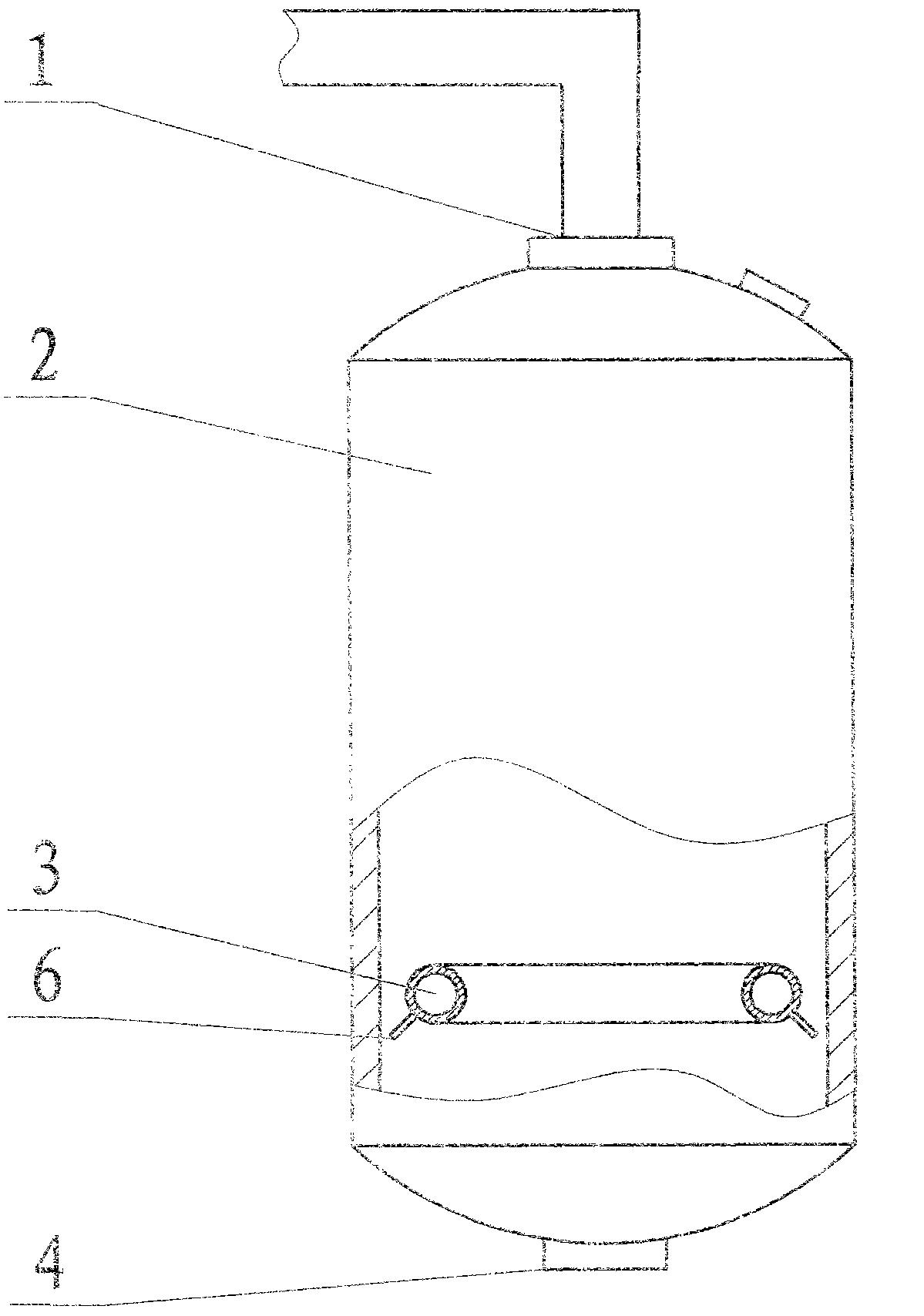
摘要
一种空气搅拌调配罐,属于调味品调配装置领域,具体涉及一种空气搅拌调配罐。其包括罐体,在罐体内设置空气搅拌环,特征在于还包括支管,支管的一端安装在空气搅拌环上,并与空气搅拌环的内部空间相连通;支管与空气揽拌环所在平面的夹角为锐角,支管呈螺旋状排列,气流通过空气搅拌环进入支管后,自下向上呈螺旋壮上升,令罐体内的液体物料形成螺旋涡流,使物料上下、左右全方位均匀搅拌,缩短搅拌时间,节约能源。


