授权公布号:CN216418665U
一种含颗粒废气的净化设备
有效
申请
2021-11-25
申请公布
1970-01-01
授权
2022-05-03
预估到期
2031-11-25
| 申请号 | CN202122959371.0 |
| 申请日 | 2021-11-25 |
| 授权公布号 | CN216418665U |
| 授权公告日 | 2022-05-03 |
| 分类号 | B01D46/10;B01D46/88;B01D46/48 |
| 分类 | 一般的物理或化学的方法或装置; |
| 申请人名称 | 安徽华业香料股份有限公司 |
| 申请人地址 | 安徽省安庆市潜山市舒州大道42号 |
专利法律状态
2022-05-03
授权
状态信息
授权
摘要
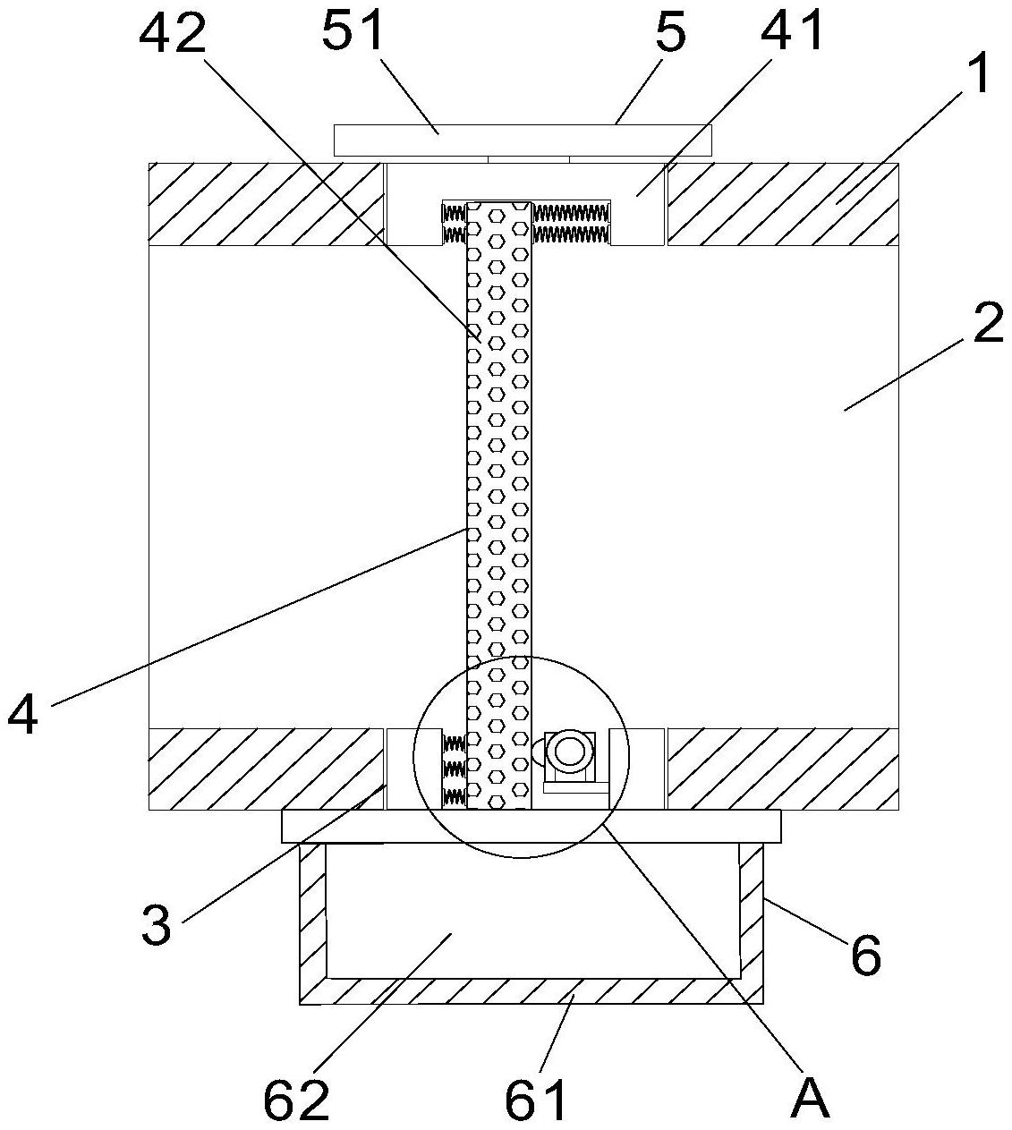
本实用新型涉及一种含颗粒废气的净化设备,属于废气净化技术领域,包括壳体,所述壳体内开设有空腔和安装通道,所述空腔和安装通道相通,所述安装通道内活动设置有过滤装置,所述过滤装置的一端设置有限位装置,所述限位装置与壳体活动连接;所述过滤装置包括支架和过滤板,所述过滤板通过振动装置与支架相连接,所述支架与安装通道活动连接,所述限位装置设置在支架上。本净化设备通过设置振动装置带动过滤板振动,将过滤板上的颗粒状杂质振落,克服了以往需要将过滤板拆下来清洗的问题,通过在过滤板下方设置回收装置,并将回收装置可拆卸的安装在壳体上,清理时更加方便。


