授权公布号:CN217093825U
香料加工粉碎研磨装置
有效
申请
2022-03-24
申请公布
1970-01-01
授权
2022-08-02
预估到期
2032-03-24
| 申请号 | CN202220667998.0 |
| 申请日 | 2022-03-24 |
| 授权公布号 | CN217093825U |
| 授权公告日 | 2022-08-02 |
| 分类号 | B02C21/00;B02C4/08;B02C4/42;B02C18/12;B02C18/24 |
| 分类 | 破碎、磨粉或粉碎;谷物碾磨的预处理; |
| 申请人名称 | 安徽华业香料股份有限公司 |
| 申请人地址 | 安徽省安庆市潜山市舒州大道42号 |
专利法律状态
2022-08-02
授权
状态信息
授权
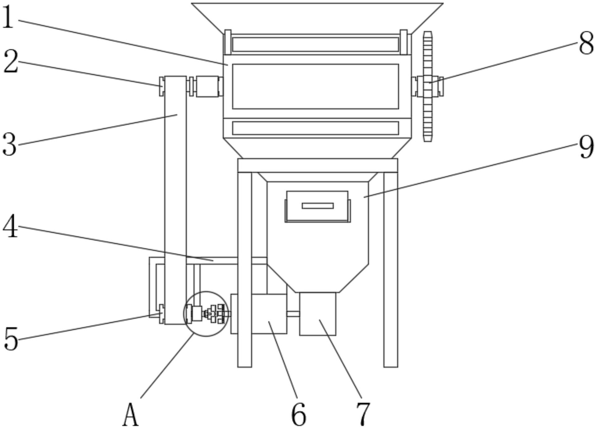
摘要
本实用新型涉及一种香料加工粉碎研磨装置,包括碾辊箱和粉碎筒,粉碎筒贯通连接在碾辊箱的下端中部,碾辊箱的内部安装有两个并排设置的碾压辊,碾压辊的轴心处固定穿设有传动轴,传动轴的两端均贯穿碾辊箱且与碾辊箱转动连接,传动轴的一端固定连接有传动齿轮,两个传动齿轮啮合传动,粉碎筒的下部一侧固定连接有支撑架,支撑架的下部一侧转动连接有传动套筒,支撑架的下侧中部安装有降速器,粉碎筒的底部安装有齿轮箱,齿轮箱与降速器之间设置有双轴电机,根据不同需求对不同香料进行针对性地粉碎,通过传动卡扣和传动卡套的卡接同时驱动降速器和齿轮箱,提高了工作效率和适用范围。


