授权公布号:CN208517362U
一种植物精油分离器
有效
申请
2018-06-20
申请公布
1970-01-01
授权
2019-02-19
预估到期
2028-06-20
| 申请号 | CN201820952350.1 |
| 申请日 | 2018-06-20 |
| 授权公布号 | CN208517362U |
| 授权公告日 | 2019-02-19 |
| 分类号 | C11B9/02 |
| 分类 | 动物或植物油、脂、脂肪物质或蜡;由此制取的脂肪酸;洗涤剂;蜡烛; |
| 申请人名称 | 安徽巨邦香料有限公司 |
| 申请人地址 | 安徽省阜阳市开发区新阳大道37号 |
专利法律状态
2019-02-19
授权
状态信息
授权
摘要
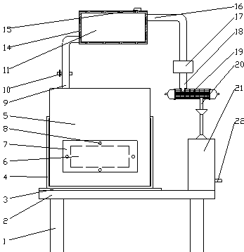
本实用新型公开了一种植物精油分离器,包括支架、底板、垫板、加热板,所述加热板内部安装有蒸馏桶,所述蒸馏桶上部左侧前后对称焊接固定有管A,前后所述管A中部设置有阀,前后所述管A顶端焊接固定有干燥筒,前后所述干燥筒内腔焊接固定有隔板,所述隔板上端面放置有固体干燥剂,前后所述干燥筒顶端加工有观察口,前后所述干燥筒底部设置有抽气泵,前后所述抽气泵底部固定有冷凝器,前后所述冷凝器底部安装有集油桶。本实用新型避免了直接将所述固体干燥剂放入油水混合液中造成污染,而是直接干燥气体,提高了干燥效果和精油品质,同时利用连续化生产,结构简单、成本低廉,值得推广使用。


