授权公布号:CN208426673U
一种麝香酮生产用减压蒸馏装置
失效
申请
2018-06-13
申请公布
1970-01-01
授权
2019-01-25
预估到期
2028-06-13
| 申请号 | CN201820912810.8 |
| 申请日 | 2018-06-13 |
| 授权公布号 | CN208426673U |
| 授权公告日 | 2019-01-25 |
| 分类号 | B01D3/10;C07C49/385;C07C45/82 |
| 分类 | 一般的物理或化学的方法或装置; |
| 申请人名称 | 安徽巨邦香料有限公司 |
| 申请人地址 | 安徽省阜阳市开发区新阳大道37号 |
专利法律状态
2023-07-07
专利权的终止
状态信息
未缴年费专利权终止;IPC(主分类):B01D3/10;申请日:20180613;授权公告日:20190125
2019-01-25
授权
状态信息
授权
摘要
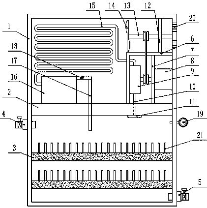
本实用新型公开了一种麝香酮生产用减压蒸馏装置,包括处理箱,处理箱内固定连接隔板,隔板的下方设有电加热装置,隔板的上方固定连接固定架,固定架固定连接第一固定板,第一固定板上固定连接驱动电机,固定架上固定连接抽气泵,抽气泵的输入端固定连接抽气管,抽气管穿过隔板并固定连接抽气头,抽气泵的输出端通过管道连接冷凝管,冷凝管的末端连接收集箱,收集箱一侧的上端固定连接循环管,固定架的顶端固定连接第二固定板,转动杆靠近冷凝管的一端固定连接风叶,转动杆与驱动电机的输出轴上均固定连接相对应的皮带轮,且两个皮带轮之间通过皮带传动连接,本实用新型结构设计巧妙,减压蒸馏速度快,生产效率高,易于使用,实用性强。


