授权公布号:CN210229982U
一种麝香酮生产专用搅拌反应釜
失效
申请
2019-05-29
申请公布
1970-01-01
授权
2020-04-03
预估到期
2029-05-29
| 申请号 | CN201920789731.7 |
| 申请日 | 2019-05-29 |
| 授权公布号 | CN210229982U |
| 授权公告日 | 2020-04-03 |
| 分类号 | B01J19/28 |
| 分类 | 一般的物理或化学的方法或装置; |
| 申请人名称 | 安徽巨邦香料有限公司 |
| 申请人地址 | 安徽省阜阳市开发区新阳大道37号 |
专利法律状态
2023-06-09
专利权的终止
状态信息
未缴年费专利权终止;IPC(主分类):B01J19/28;申请日:20190529;授权公告日:20200403
2020-04-03
授权
状态信息
授权
摘要
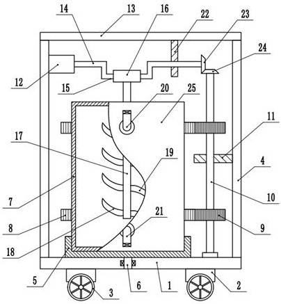
本实用新型公开了一种麝香酮生产专用搅拌反应釜,包括固定底座,固定底座上端两侧安装有支撑架,支撑架顶端安装有顶板,顶板下端安装有第一导向架,第一导向架中部安装驱动轴,驱动轴中部设有曲柄,曲柄中部安装有滑套,滑套下端安装有搅拌轴,驱动轴右端安装有驱动齿轮,驱动齿轮下端啮合有传动齿轮,传动齿轮下端中部安装有传动轴,传动轴上下两端中部安装有主动齿轮,固定底座中部安装有旋转轴,旋转轴上端安装有旋转座,旋转座上端安装有反应釜本体,反应釜本体上下中部外侧安装有从动圈齿。本实用新型,避免着反应过程中反应物体上下分层,同时实现着对整个反应釜体的转动,满足着反应物体的水平搅拌需要。


