授权公布号:CN210974591U
一种小型高效芳香植物精油提取设备
失效
申请
2019-05-29
申请公布
1970-01-01
授权
2020-07-10
预估到期
2029-05-29
| 申请号 | CN201920789732.1 |
| 申请日 | 2019-05-29 |
| 授权公布号 | CN210974591U |
| 授权公告日 | 2020-07-10 |
| 分类号 | C11B9/02 |
| 分类 | 动物或植物油、脂、脂肪物质或蜡;由此制取的脂肪酸;洗涤剂;蜡烛; |
| 申请人名称 | 安徽巨邦香料有限公司 |
| 申请人地址 | 安徽省阜阳市开发区新阳大道37号 |
专利法律状态
2023-06-09
专利权的终止
状态信息
未缴年费专利权终止;IPC(主分类):C11B9/02;申请日:20190529;授权公告日:20200710
2020-07-10
授权
状态信息
授权
摘要
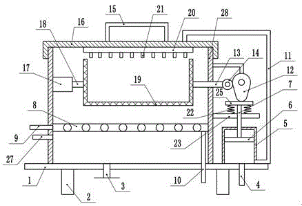
本实用新型公开了一种小型高效芳香植物精油提取设备,包括支撑底座,支撑底座上端中部安装有提取箱,提取箱顶端安装有箱盖,箱盖内部底端安装有喷气腔,喷气腔上端连接有喷气管,支撑底座上端右侧安装有引气腔,引气腔内部安装有活塞板,活塞板上端连接有活塞杆,活塞杆中部安装有挡板,活塞杆上端连接有接触板,接触板上端接触有旋转凸轮,旋转凸轮左端接触有导向球,导向球左端连接有右导向杆,右导向杆穿过提取箱连接有放置框,提取箱内部安装有冷凝管,冷凝管上下连两端安装有钢丝网。本实用新型,使得放置框左右摆动,进而使得内部的植物颗粒左右来回摆动,进而使得水蒸气可以充分的与植物颗粒进行接触。


