授权公布号:CN210974590U
一种玫瑰花精油提取机
失效
申请
2019-05-29
申请公布
1970-01-01
授权
2020-07-10
预估到期
2029-05-29
| 申请号 | CN201920789724.7 |
| 申请日 | 2019-05-29 |
| 授权公布号 | CN210974590U |
| 授权公告日 | 2020-07-10 |
| 分类号 | C11B9/02 |
| 分类 | 动物或植物油、脂、脂肪物质或蜡;由此制取的脂肪酸;洗涤剂;蜡烛; |
| 申请人名称 | 安徽巨邦香料有限公司 |
| 申请人地址 | 安徽省阜阳市开发区新阳大道37号 |
专利法律状态
2023-06-09
专利权的终止
状态信息
未缴年费专利权终止;IPC(主分类):C11B9/02;申请日:20190529;授权公告日:20200710
2020-07-10
授权
状态信息
授权
摘要
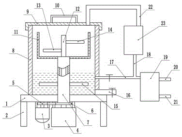
本实用新型公开了一种玫瑰花精油提取机,包括支撑底座,所述支撑底座下端左侧安装有第一电机,第一电机上端安装有主动链轮,主动链轮右端链条连接有从动带轮,从动链轮上端连接有第一转轴,第一转轴上端穿过支撑底座连接有转动筒,所述第一转轴中部安装有第二转轴,第二转轴下端穿过从动链轮连接有第二电机,所述支撑底座上端中部安装有提取箱,提取箱上端安装有箱盖,箱盖上端连接有吸气管,吸气管末端连接有冷凝箱。本实用新型,实现着对转动筒内部的玫瑰花瓣的搅拌扰动作用,使得花瓣可以充分的与水蒸气进行接触,同时将提取箱中的热水上层与油水分离箱进行连接,使得在热水中残留的精油也可以被回收。


