授权公布号:CN218604995U
一种面食加工用蒸汽锅炉
有效
申请
2022-08-05
申请公布
1970-01-01
授权
2023-03-14
预估到期
2032-08-05
| 申请号 | CN202222053611.5 |
| 申请日 | 2022-08-05 |
| 授权公布号 | CN218604995U |
| 授权公告日 | 2023-03-14 |
| 分类号 | A23P30/00;A23L5/10 |
| 分类 | 其他类不包含的食品或食料;及其处理; |
| 申请人名称 | 泰安泰山亚细亚食品有限公司 |
| 申请人地址 | 山东省泰安市泰山区万官路1136号 |
专利法律状态
2023-03-14
授权
状态信息
授权
摘要
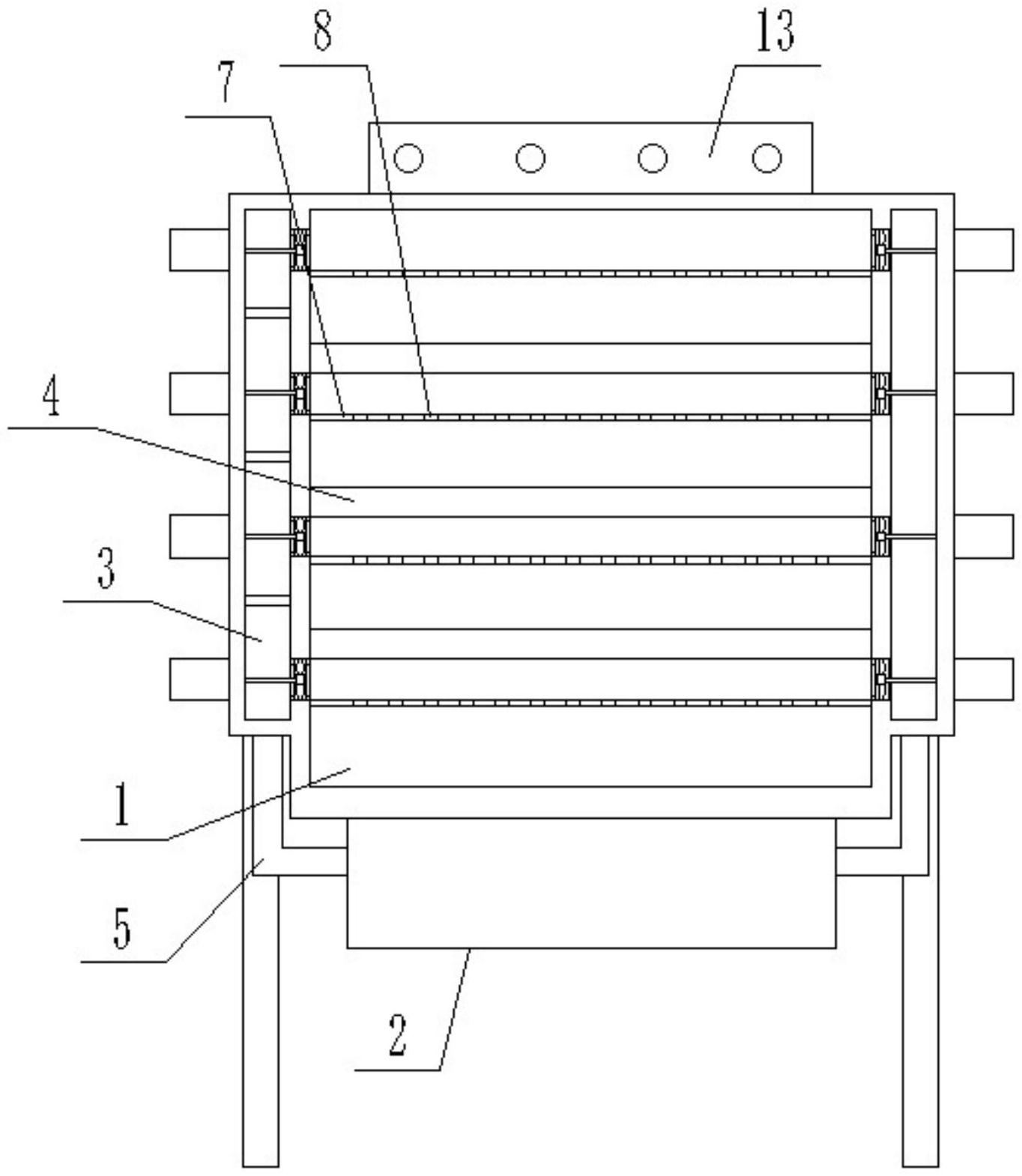
本实用新型公开了一种面食加工用蒸汽锅炉,包括箱体以及蒸汽设备,所述蒸汽设备固定在所述箱体底部,所述箱体内设置有加工结构,所述加工结构,包括:气腔、内隔板、连接管道、控制阀以及喷气部,所述内腔开在所述箱体内两侧,所述内隔板设置在所述箱体内,所述连接管道设置在所述蒸汽设备输出端且与所述气腔相连通,所述控制阀设置在所述连接管道上,所述喷气部设置在所述箱体内。本实用新型在内部通过内隔板区分出多个区域,且每个区域的蒸汽进入通过控制阀来进行控制,且通过驱动电机驱动扇叶可加快蒸汽进入,且每层都可以单独打开,避免其它层的蒸汽流失,能够起到节能效果。


