授权公布号:CN218821186U
一种藕粉低温快速冷却装置
有效
申请
2023-02-07
申请公布
1970-01-01
授权
2023-04-07
预估到期
2033-02-07
| 申请号 | CN202320143385.1 |
| 申请日 | 2023-02-07 |
| 授权公布号 | CN218821186U |
| 授权公告日 | 2023-04-07 |
| 分类号 | F25D11/00;F25D17/06;F25D23/00 |
| 分类 | 制冷或冷却;加热和制冷的联合系统;热泵系统;冰的制造或储存;气体的液化或固化; |
| 申请人名称 | 杭州天荷食品有限公司 |
| 申请人地址 | 浙江省杭州市余杭区百丈镇百丈村1幢1号、2幢1号 |
专利法律状态
2023-04-07
授权
状态信息
授权
摘要
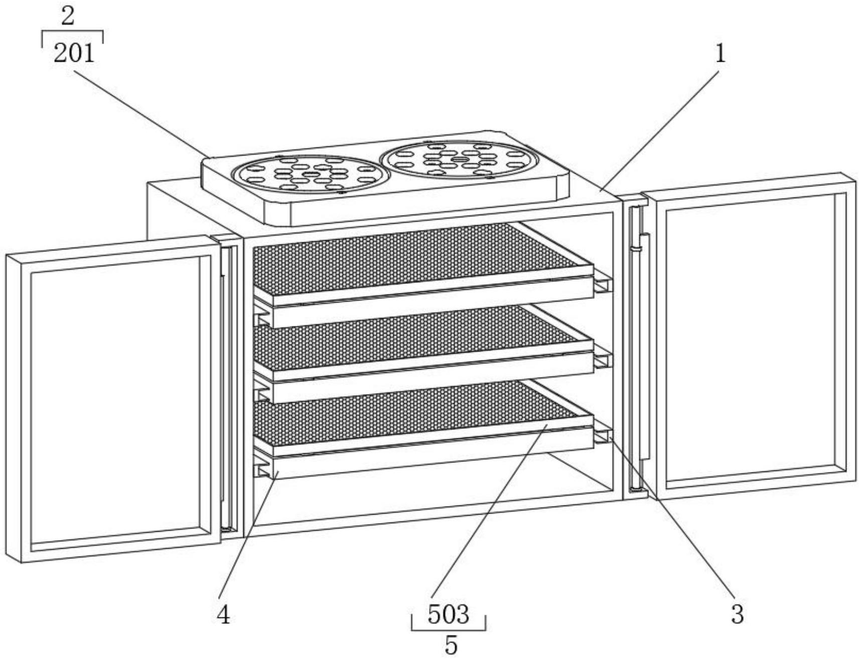
本实用新型公开了一种藕粉低温快速冷却装置,包括低温保存柜,所述低温保存柜的顶端安装有冷却机构,所述低温保存柜的内侧壁螺钉连接有滑轨,所述滑轨的内侧套设有放置架。该一种藕粉低温快速冷却装置,通过设置安装机架、安装槽、冷却风机、锁紧槽、防尘网罩、连接槽、复位弹簧和锁紧销的配合作用下,在冷却风机对低温保存柜内侧的高温气体进行抽出与排风的过程中,避免了空气中的灰尘粘连在安装槽内侧的冷却风机中,导致灰尘对冷却风机造成腐蚀,从而影响了冷却风机的正常运行,再将防尘网罩外壁的复位弹簧与锁紧销挤压至安装槽内侧的锁紧槽中,将防尘网罩进行弹簧挤压锁紧,同时结构简单方便操作。


