授权公布号:CN207523991U
一种燕麦入料包装装置
有效
申请
2017-09-26
申请公布
1970-01-01
授权
2018-06-22
预估到期
2027-09-26
| 申请号 | CN201721243843.X |
| 申请日 | 2017-09-26 |
| 授权公布号 | CN207523991U |
| 授权公告日 | 2018-06-22 |
| 分类号 | B65B9/10;B65B61/10 |
| 分类 | 输送;包装;贮存;搬运薄的或细丝状材料; |
| 申请人名称 | 广东皇麦世家食品有限公司 |
| 申请人地址 | 广东省汕头市嵩山路嵩山大厦二至六层 |
专利法律状态
2018-06-22
授权
状态信息
授权
摘要
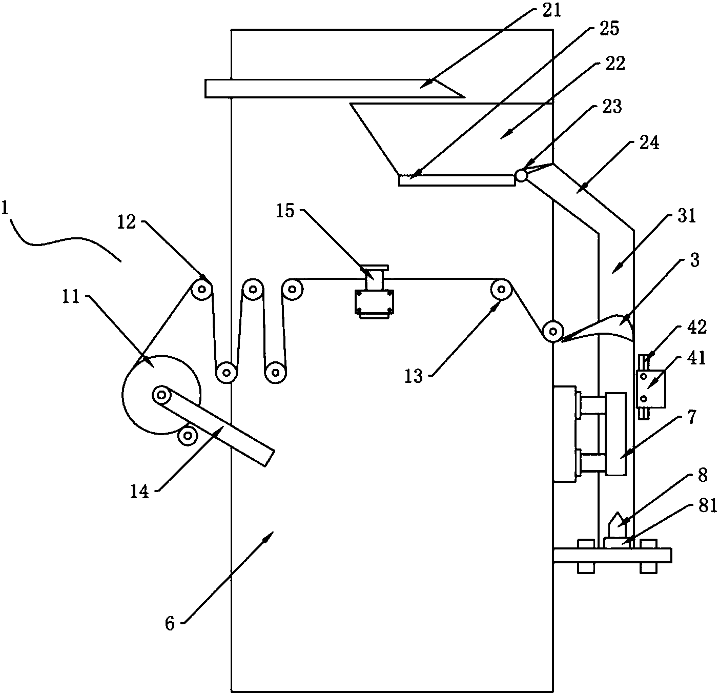
本实用新型属于食品入料检测设计领域,涉及一种燕麦入料包装装置,主要包括:包装膜出卷辊组、分料漏斗组、导膜件、热合封边件和横向热切件,所述的包装膜出卷辊组设置在机架一侧,机架另一侧设置热合封边件和横向热切件,热合封边件设置在分料漏斗组外侧,导膜件套在分料漏斗组下方的导膜筒外围,位于机架顶部的分料漏斗组与导膜筒相互连接。本实用新型的具有以下有益效果:燕麦入料包装装置利用包装膜出卷辊组、分料漏斗组、导膜件、热合封边件和横向热切件来完成燕麦的分料和包装成型,其自动化程度高,减少了大量的人力物力,提高产品的生产效率;分料漏斗组的储料仓能够迅速将燕麦导入包装膜内,并通过电子称来调节燕麦的重量,确保每包产品重量相同。


