授权公布号:CN207311978U
一种多类食品检查运输装置
有效
申请
2017-09-05
申请公布
1970-01-01
授权
2018-05-04
预估到期
2027-09-05
| 申请号 | CN201721130143.X |
| 申请日 | 2017-09-05 |
| 授权公布号 | CN207311978U |
| 授权公告日 | 2018-05-04 |
| 分类号 | B65B57/04;B65G11/20;B65G11/08 |
| 分类 | 输送;包装;贮存;搬运薄的或细丝状材料; |
| 申请人名称 | 广东皇麦世家食品有限公司 |
| 申请人地址 | 广东省汕头市嵩山路嵩山大厦二至六层 |
专利法律状态
2018-05-04
授权
状态信息
授权
摘要
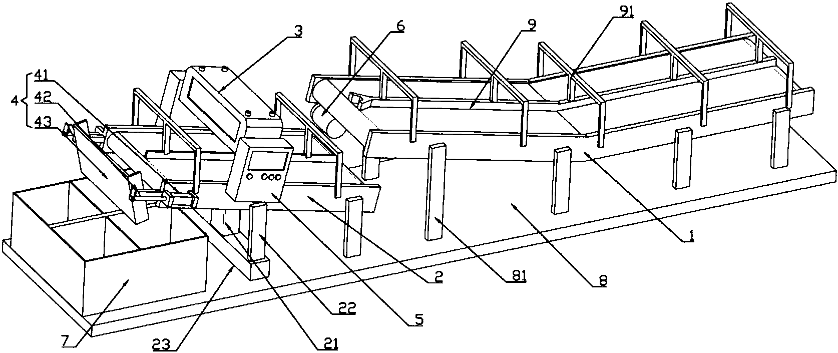
本实用新型属于食品入料检测设计领域,涉及一种多类食品检查运输装置,所述的多类运输轨道和检查运输轨道中间均设有挡板,检查运输轨道后端设有多类运输轨道,检查运输轨道前端设置筛选组件,筛选组件下方设有收集箱,金属检查器安装在检查运输轨道,电动机牵动多类运输轨道和检查运输轨道的输送带。本实用新型的具有以下有益效果:多类食品检查运输装置利用多类运输轨道、检查运输轨道、金属检查器和筛选组件来分类运输食品,由挡板来将食品分开运输,在一条运输轨道对多类食品进行运输;金属检查器配合筛选组件来对物品进行金属检测,将不合格的物料筛选出来,有效地保证了产品质量,而且减少了大量的人力物力,提高产品的生产效率。


