授权公布号:CN214874964U
一种家具智能制造用运输装置
有效
申请
2021-05-12
申请公布
1970-01-01
授权
2021-11-26
预估到期
2031-05-12
| 申请号 | CN202121006152.4 |
| 申请日 | 2021-05-12 |
| 授权公布号 | CN214874964U |
| 授权公告日 | 2021-11-26 |
| 分类号 | B62B3/02;B62B5/00 |
| 分类 | 无轨陆用车辆; |
| 申请人名称 | 班尔奇(上海)家居科技有限公司 |
| 申请人地址 | 上海市闵行区北翟路1444弄222号 |
专利法律状态
2021-11-26
授权
状态信息
授权
摘要
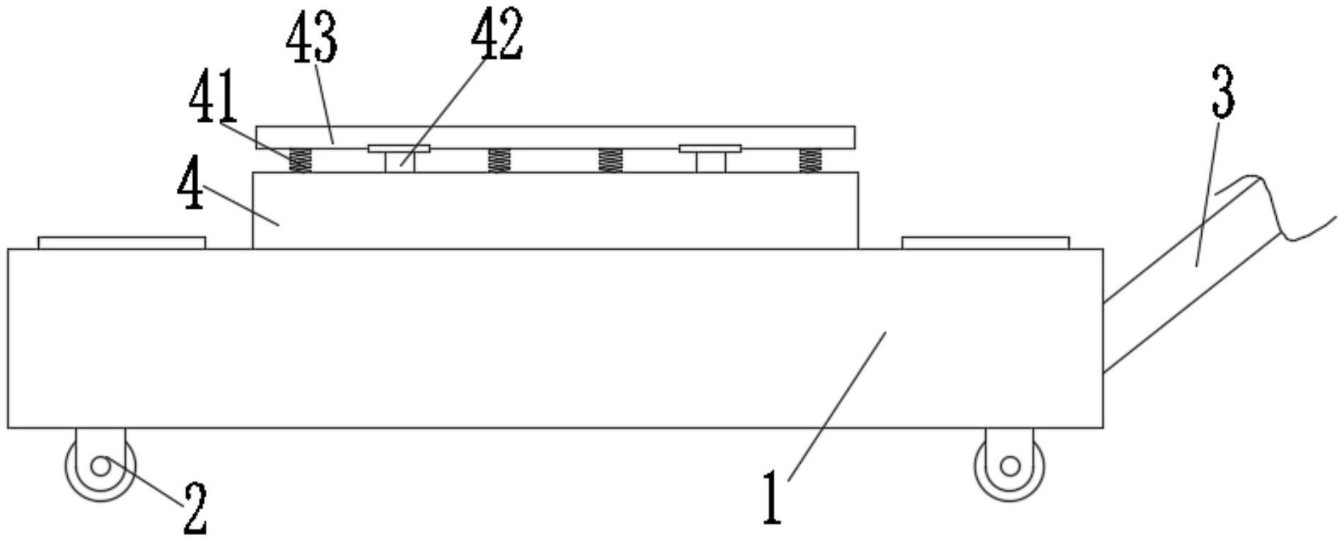
本实用新型公开了一种家具智能制造用运输装置,包括固定块一,所述固定块一底部均分别设置有万向轮,所述固定块一右侧固定安装有推杆,所述固定块一顶部设置有固定块二,所述固定块二顶部固定安装有弹簧,所述弹簧数量为四个,所述固定块二顶部左右端固定安装有支撑杆,两个所述支撑杆设置在四个弹簧相互靠近的一侧,两个所述支撑杆顶部固定安装有压板,本实用新型通过设置固定块三,只有在压板顶部都有家具时,固定块三才会气体被顶出,转动螺纹杆右侧的把手对家具进行夹紧,通过设置磨砂块,可增加与家具之间的摩擦力一定程度上能提高夹紧的效果,通过设置弹簧,可在运输中产生晃动时对家具进行减震的效果。


