授权公布号:CN208356227U
一种用于生物制药的分离纯化过滤装置
有效
申请
2018-05-15
申请公布
1970-01-01
授权
2019-01-11
预估到期
2028-05-15
| 申请号 | CN201820717407.X |
| 申请日 | 2018-05-15 |
| 授权公布号 | CN208356227U |
| 授权公告日 | 2019-01-11 |
| 分类号 | B01D29/03;B01D29/075;B01D29/60 |
| 分类 | 一般的物理或化学的方法或装置; |
| 申请人名称 | 甘肃祁连山生物科技开发有限责任公司 |
| 申请人地址 | 甘肃省张掖市肃南裕固族自治县肃南县红湾寺镇迎宾路101号 |
专利法律状态
2019-01-11
授权
状态信息
授权
摘要
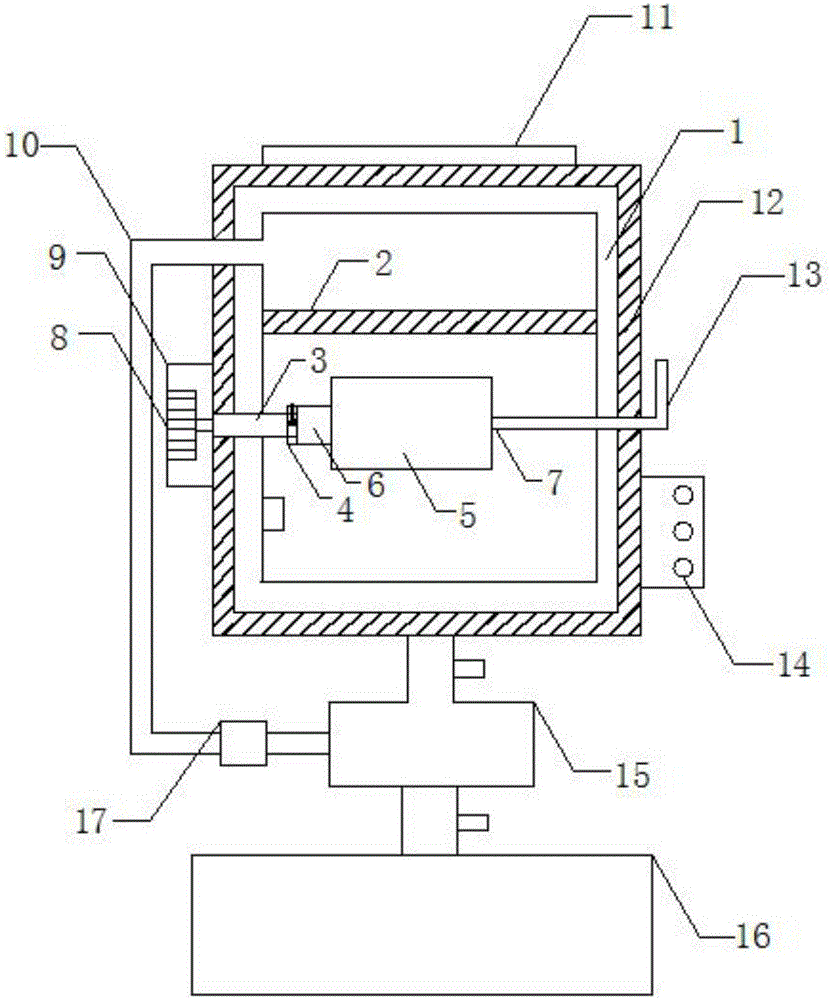
本实用新型公开了一种用于生物制药的分离纯化过滤装置,包括箱体,箱体的内部设有过滤板,电机的输出轴与位于箱体内部的第一转杆固定连接,第三转杆的一端与位于箱体外壁面的转把固定连接,观察室的一侧通过回流管与箱体顶部的一侧相通,回流管上设有水泵,本方案,通过观察室对过滤效果进行观察,并通过水泵带动过滤液体回流管重新进入箱体进行二次过滤,保证过滤效果,设立转把通过第三转杆带动转轴转动,对箱体内部的药液进行搅拌,可手动控制转轴的转速同时可防止停电时电机断电,阻止断电的影响,设立温控开关对箱体内部的温度进行检测,当箱体内部温度不在设置范围内时,通过报警器报警。


